两板模结构图

塑胶模具两板模结构介绍
图片尺寸1080x810
二:注塑模具二板模按照注塑模具浇注系统基本结构的不同,注塑模具总共
图片尺寸600x500
标准二板模结构
图片尺寸640x448
二板式模具结构及名称.ppt
图片尺寸800x600
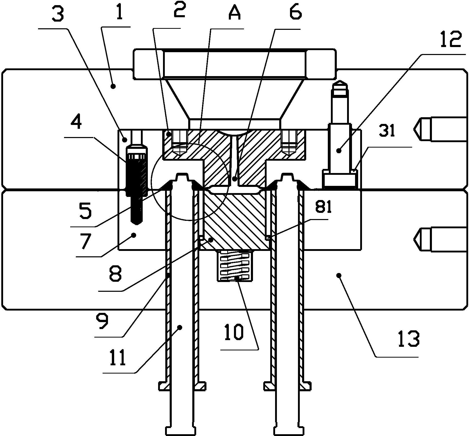
二板塑胶模具的改进结构
图片尺寸1832x1696
图片尺寸1080x810
3· 塑胶模具各结构规范
图片尺寸1203x966
两板模基本结构
图片尺寸700x552
模具机构动图解析:从两板模到复杂机构,一网打尽你的疑惑
图片尺寸677x575
这种模具结构也被称为两板模,因其设计最为简洁而备受推崇
图片尺寸1191x656
两板模vs三板模底层逻辑全拆解!
图片尺寸960x600
两板模好在哪?模具设计师必懂的结构奥秘!
图片尺寸1146x644
两板模vs三板模:结构差异全解析!
图片尺寸1146x644
做模具设计还不清楚两板模与三板模的区别?
图片尺寸900x564
台灯底座注塑模具
图片尺寸1902x1039
模具设计分水岭:两板模vs三板模结构全拆解!
图片尺寸960x600
一种二板式瓶坯注塑机合模机构
图片尺寸1000x834
通过表格对比,三板模与两板模在结构,优缺点及适用场景上有显著区别
图片尺寸483x412
目前,注塑机传统二板机的合模机构,包含快速油缸,调模结构,锁模油缸和
图片尺寸1465x3004
注塑模具两板模结构全解析,细节拆解大揭秘
图片尺寸960x1280