乳化机图纸

cn104147960a_管道接头快装式真空乳化机失效
图片尺寸1000x901
cn202570007u_乳化机三重搅拌装置失效
图片尺寸796x1000
高剪切乳化机
图片尺寸750x350
实验室移动式乳化头高速剪切均质果汁牛奶分散乳化机均质搅拌机
图片尺寸750x1310
真空乳化机布局图 - 机械设备图纸 - 沐风网
图片尺寸820x632
一种剪切均质乳化机的制作方法
图片尺寸882x1000![j-350a真空乳化机传动系统和搅拌系统设计[含cad高清图纸和说明书].](https://i.ecywang.com/upload/1/img1.baidu.com/it/u=1255560958,2681851955&fm=253&fmt=auto&app=138&f=GIF?w=750&h=500)
j-350a真空乳化机传动系统和搅拌系统设计[含cad高清图纸和说明书].
图片尺寸1200x800
一种膏霜产品用乳化机制造技术
图片尺寸825x1000
一种搅拌式乳化机的制作方法
图片尺寸1000x933
一种用于化妆品生产的升降式真空均质乳化机的制作方法
图片尺寸882x1000
一种均质真空乳化机的制作方法
图片尺寸1000x799
cn206240364u_一种真空均质乳化机有效
图片尺寸1000x809
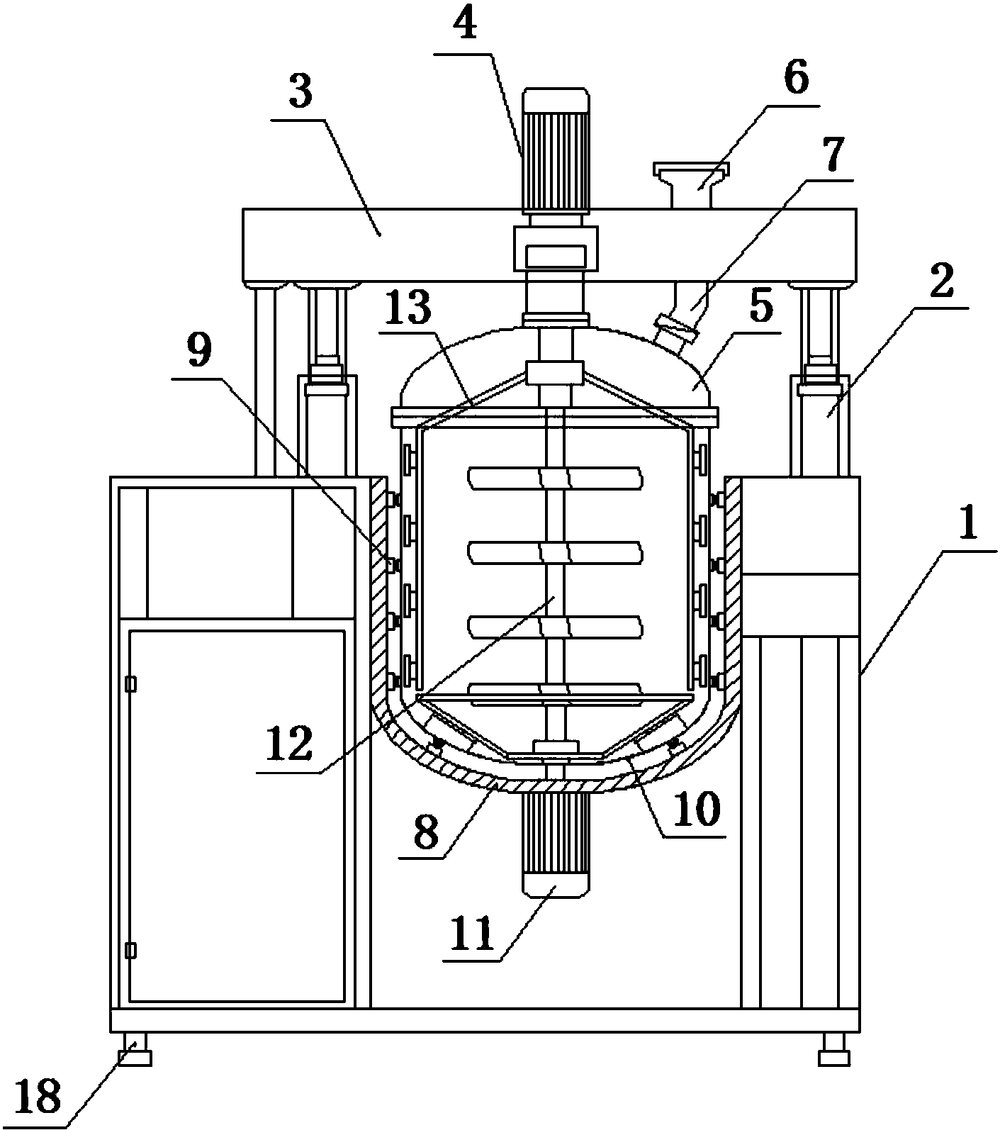
cn208493985u_一种用于化妆品生产的升降式真空均质乳化机有效
图片尺寸1411x1594
一种管线式高剪切乳化机的制作方法与工艺
图片尺寸1000x551
框式三叶双向搅拌的均质乳化机的制作方法
图片尺寸1000x952
cn2897428y_陶瓷刀片式无间隙剪切超细粉碎均质乳化机失效
图片尺寸1968x1770
cn1389290a_无定子管线式乳化机失效
图片尺寸709x389
cn213428093u_乳制品加工用离心净乳机有效
图片尺寸1547x2378
sme 釜底乳化机
图片尺寸506x888
一张图看懂乳化机工作原理钰翔设备
图片尺寸800x800