伸缩天线结构

一种伸缩式智能天线
图片尺寸1751x2141
一种电台用可伸缩的螺旋鞭天线
图片尺寸1540x583
cn101320828a_伸缩式天线失效
图片尺寸1465x2394
cn212209722u_一种探地雷达的伸缩式天线结构有效
图片尺寸869x1000
【摘要】 鞭状天线是短波天线的一种常见的结构形式,因其具有结构
图片尺寸967x702
【摘要】 鞭状天线是短波天线的一种常见的结构形式,因其具有结构
图片尺寸1032x441
一种应用于5g移动通信的小型化宽频带mimo天线的制作方法
图片尺寸821x1000
伸缩式绞盘操作天线杆
图片尺寸285x500
一种4glte折叠天线的制作方法
图片尺寸1000x946
一种用于多频带圆极化天线结构的伸缩装置
图片尺寸1545x1290
一种具有防护功能的5g外置吸盘天线
图片尺寸1489x1603
汽车用伸缩天线(1)
图片尺寸764x701
cn101533954a_天线结构有效
图片尺寸1172x2065
一种带有滑动式可伸缩支撑架结构的短波双极天线
图片尺寸340x443
3upu二转一移型并联机构天线结构系统
图片尺寸980x1000
主要为大家介绍移动通信天线方面的知识 基站天馈结构 1 天线调节支架
图片尺寸1080x810
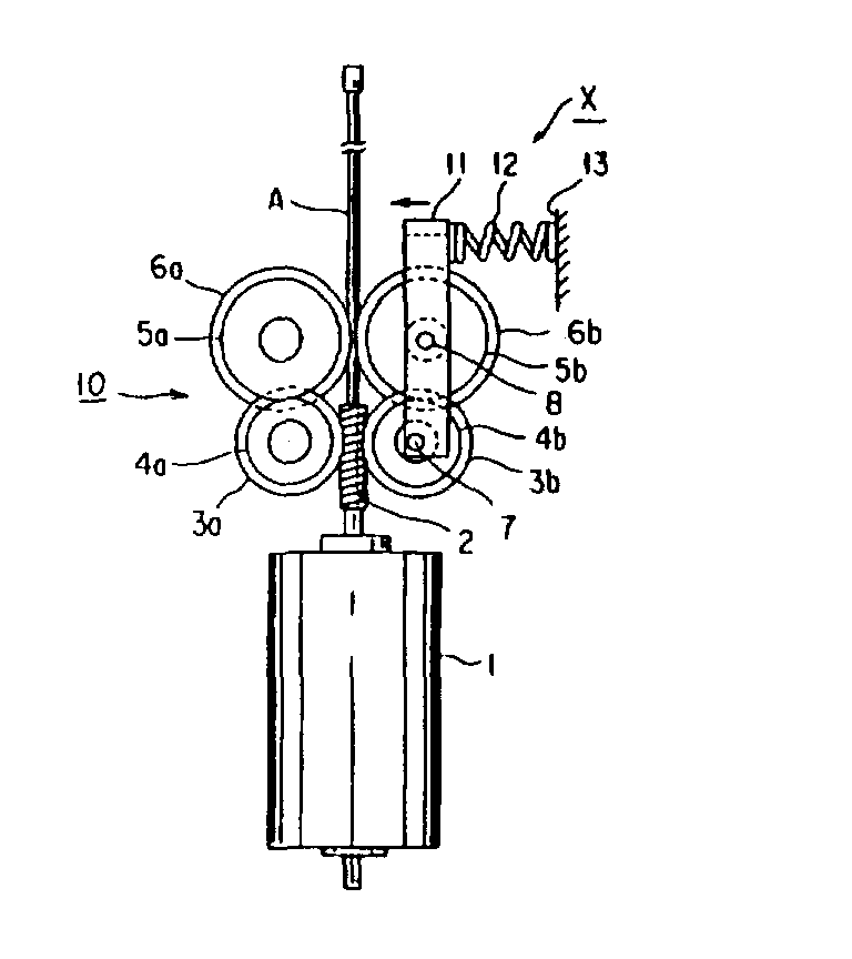
电动伸缩式天线驱动装置
图片尺寸768x864
一种天线结构制造技术
图片尺寸1000x911
求懂电子的给看一下怎么解决 伸缩云台 - 云台,天线,图传,摄影器材
图片尺寸1440x1080
平板天线原理(转载) - tangfang929 - tangfang929 的博客
图片尺寸300x256