伸缩平台结构图

一种伸缩式车顶安装平台
图片尺寸1000x659
cn109484514a_一种四轮独立转向驱动的伸缩式田间作业机器人平台在审
图片尺寸990x1000
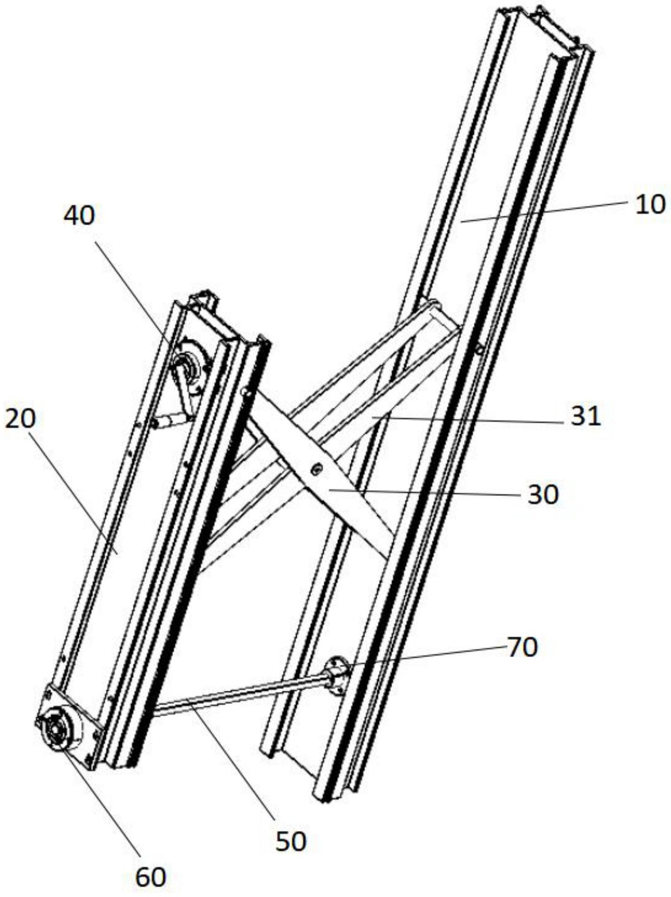
一种伸缩平台及具有其的搬运装置的制作方法
图片尺寸617x1000
一种伸缩式建筑施工卸料平台的制作方法
图片尺寸1000x865
一种可伸缩高空作业平台的制作方法
图片尺寸940x1000
升降伸缩平台的制作方法
图片尺寸343x437
一种自动控制的活动伸缩平台的制作方法
图片尺寸443x310
cn105831038a_伸缩折叠式钓鱼平台有效
图片尺寸924x1000
所述伸缩横梁的外端与所述公海铁联运装卸装置的其一框架结构连接,所
图片尺寸1835x1603
一种鹅颈伸缩平台及码垛机
图片尺寸1000x711
推拉伸缩结构
图片尺寸637x759
一种剪叉式手动伸缩平台-爱企查
图片尺寸1364x1824
cn207111144u_一种伸缩平台及应用其的锚护钻车有效
图片尺寸1707x771
一种用于升降平台的可伸缩作业平台
图片尺寸1821x1178
主臂系统—伸缩系统 五节主臂:双油缸加两组伸缩钢丝绳组
图片尺寸1080x810
一种伸缩式载货平台
图片尺寸300x225
双向伸缩升降平台及隧道清洁车的制作方法
图片尺寸1000x850
三片伸缩搭板式装卸平台的制作方法
图片尺寸1000x563
一种施工用的可伸缩操作平台的制作方法
图片尺寸443x298
cn107535185a_一种林果采摘机器人的回转升降伸缩装置在审
图片尺寸926x1000