伸缩装置结构图

f-80型桥梁伸缩装置安装示意图
图片尺寸1311x927
采用梳齿板与型钢相结合的结构形式,避免了普通单缝伸缩装置噪音大
图片尺寸740x284
桥梁伸缩装置
图片尺寸1200x900
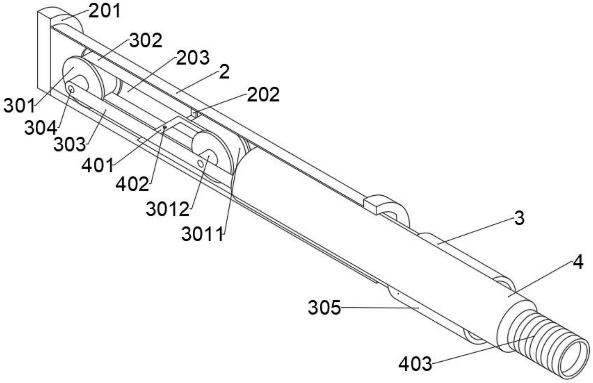
一种新型的伸缩机构的制作方法
图片尺寸1000x692
一种伸缩装置-爱企查
图片尺寸555x800
主臂系统—伸缩系统 五节主臂:双油缸加两组伸缩钢丝绳组
图片尺寸1080x810
伸缩器的安装图解
图片尺寸564x292
cn107535185a_一种林果采摘机器人的回转升降伸缩装置在审
图片尺寸926x1000
伸缩装置厂家
图片尺寸680x397
多级伸缩装置
图片尺寸1604x1144
一种桅杆伸缩装置
图片尺寸1997x1290
请教什么是模数式伸缩装置
图片尺寸1000x441
一种具有伸缩功能的装置-爱企查
图片尺寸1561x1589
伸缩装置安装
图片尺寸560x315
一种紧凑型伸缩装置的制作方法
图片尺寸946x1000
伸缩装置伸缩量的确定
图片尺寸587x800
机械手的伸缩机构及机械手的制作方法
图片尺寸1000x700
一种自复位模块化快装模数式伸缩装置的制作方法
图片尺寸1000x617
伸缩机构的制作方法
图片尺寸1000x782
cn2434986y_活动屏风伸缩机构失效
图片尺寸896x995