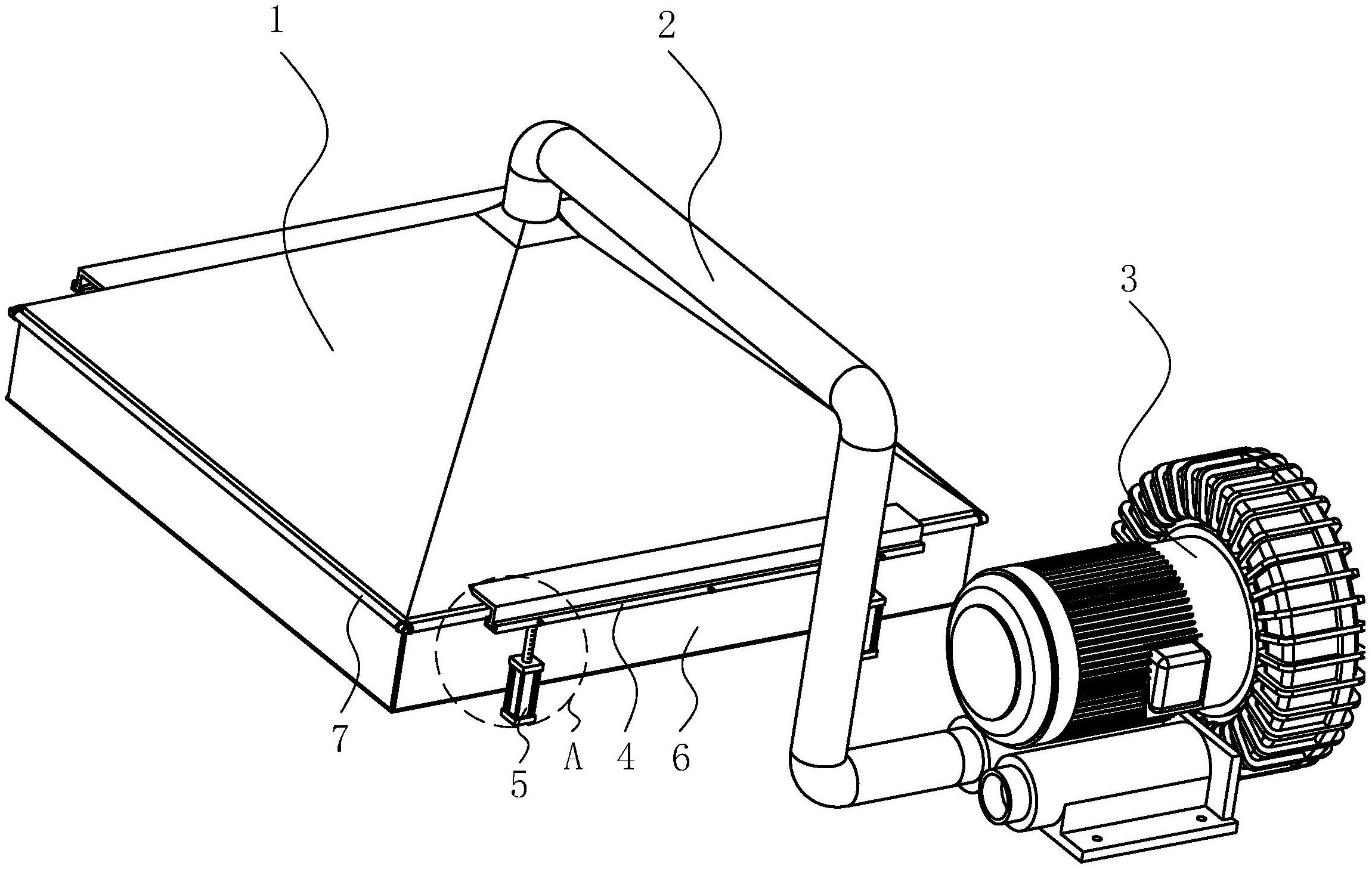
侧吸罩平面图

侧吸式集气罩.dwg
图片尺寸1200x800
除尘器吸风罩设计图纸
图片尺寸1205x812
kp12万向抽气罩
图片尺寸645x581
激光切割机排尘/吸尘罩
图片尺寸1320x737
净化烟罩一体机
图片尺寸702x544
一种便于安装拆卸的环保吸尘罩-爱企查
图片尺寸2301x1457
一种新型水封式移动侧吸除尘罩-爱企查
图片尺寸788x799
一种印刷机用环保吸尘罩
图片尺寸2289x1787
一种防压疮呼吸面罩的制作方法
图片尺寸931x1000
一种重症患者用的防脱呼吸罩组件
图片尺寸379x479
苏泊尔suporj516侧吸式抽油烟机吸油烟机带装饰罩
图片尺寸790x1014
fotile方太 cxw-200-jq22ts侧吸
图片尺寸930x874
百得油烟机cxw-200-d0901 抽油烟机 侧吸烟机 吸烟罩 正品保证
图片尺寸750x705
cn101813330a_吸油烟机集烟罩左,右进风可调节装置失效
图片尺寸1964x1555
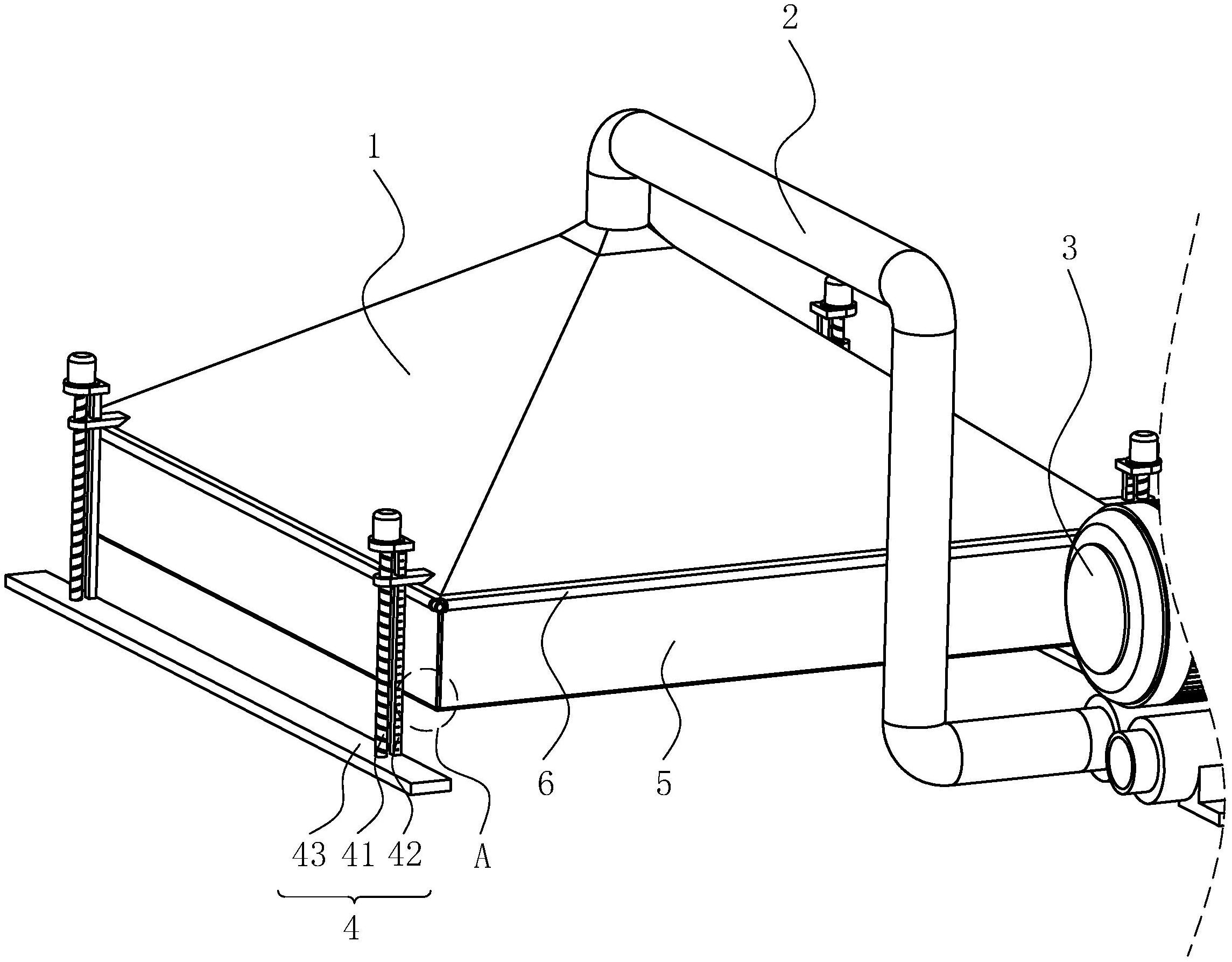
一种吊顶式吸风罩
图片尺寸1000x557
上罩图
图片尺寸351x483
supor/苏泊尔 cxw-218-j613抽油烟机自动清洗壁挂式侧吸家用特价
图片尺寸790x683
cn107551686a_一种高分子除尘器在审
图片尺寸970x1000
一种侧吸式防漏油的吸油烟机-爱企查
图片尺寸1462x2377
万和(vanward)cxw-200-j06b 侧吸式油烟机 大吸力,图片,价格,品牌
图片尺寸750x600