侧封箱展开图

分享一组常用盒型包装结构展开图
图片尺寸690x920
侧封式封箱机(上下传动)
图片尺寸900x200
厂家专业加工定制 全自动工字型封箱机胶带封纸箱机器
图片尺寸750x1035
瓦楞纸箱基础知识培训
图片尺寸1280x720
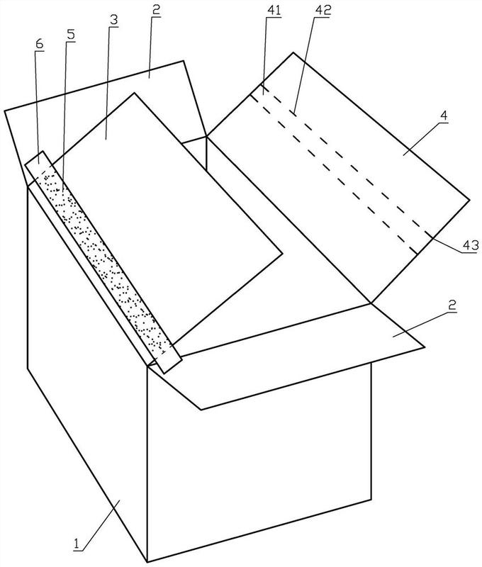
一种方便封箱和拆箱的包装纸箱-爱企查
图片尺寸680x800
透明薄膜甜品纸箱刀模包装盒展开图
图片尺寸539x812
牛奶包装箱
图片尺寸3000x3000
快递包装箱的秘密
图片尺寸837x514
双插口式封底结构设计展开图
图片尺寸500x585
一种数控侧封箱机的封箱机构的制作方法
图片尺寸967x1000
分享七十多种包装盒展开图你值得收藏纸盒结构大解析
图片尺寸720x963
透明隔纸甜品纸箱刀模包装盒展开图
图片尺寸539x812
环保再生纸信封盒 信封印刷厂家
图片尺寸3125x1525
分享七十多种包装盒展开图你值得收藏纸盒结构大解析
图片尺寸720x964
143套包装盒展开图素材分享,有没有你想要的那一款呢?
图片尺寸2304x1440
信封展开图图片
图片尺寸783x1024
东莞订做家具五层kk加强纸箱玻璃厂包装中封箱9866055cm
图片尺寸417x332
一种绿色无胶快速封箱的快递包装盒的制作方法
图片尺寸876x1000
长方形密封包装盒矢量展开图包装刀模图
图片尺寸539x812
抽绳绑系式甜品纸箱刀模包装盒展开图
图片尺寸539x812