保温杯设计草图

保温杯设计手绘
图片尺寸1080x822
如今的佛系青年怎么都是人手一个保温杯了手绘581day
图片尺寸1080x1294
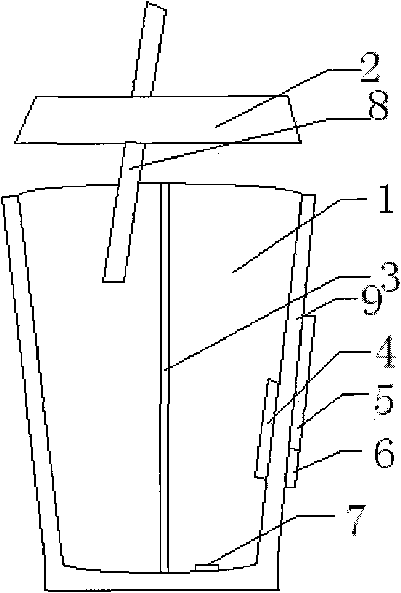
一种儿童保温杯的制作方法
图片尺寸297x443
更懂你的保温杯设计
图片尺寸1400x990
手绘水杯水壶手绘图
图片尺寸1080x1439
快题草图圆柱体水杯造型
图片尺寸1080x810
淘宝心选设计师卡卡此次拿下if大奖的保温杯的设计草图,他认为好的
图片尺寸1416x975
一种多功能水杯
图片尺寸1126x1439
"暖心"不再冰冷的保温杯创意
图片尺寸3780x2126
双层塔式结构神奇好玩的保温杯
图片尺寸1208x800
一种可自动控制加热的保温杯的制作方法
图片尺寸615x1000
这年头凡事不光看性能还要看外表06概念保温杯
图片尺寸1400x1008
保温杯设计手绘
图片尺寸1080x915
wildwest保温杯设计
图片尺寸1280x675
一种新型保温杯的制作方法
图片尺寸733x1000
一种多功能保温杯
图片尺寸798x1179
本实用新型属于保温杯设计领域,特别涉及一种多功能保温杯.
图片尺寸703x1000
双腔保温杯制造技术
图片尺寸754x1000
产品设计草图论作业可以多水
图片尺寸1080x755
保温快凉节水杯制造技术
图片尺寸384x339