偏航阻尼器

波音737300上的偏航阻尼耦合器
图片尺寸4000x2500
常州偏航阻尼器
图片尺寸872x1550
风电机阻尼条无噪音大偏航制动器片 摩擦衬垫刹车块 1.5mw兆瓦
图片尺寸800x800
从蜻蜓翅痣谈飞机机翼颤振及其抑制—兼谈颤振与驰振
图片尺寸1500x1500
人为控制的偏转,6 月 8 日当晚,地勤也更换了偏航阻尼器的一部分零件
图片尺寸640x516
rcgeek 适用dji御3 air2s mini2/3 pro遥控器摇杆偏航阻尼器无人机
图片尺寸800x800
阻尼器
图片尺寸1300x1300
大型搞机教程(2)
图片尺寸720x370
5°,而偏航阻尼器只是角度微调设备,调整角度只有3°,无法实现这样大
图片尺寸1202x410
偏航阻尼器
图片尺寸300x300
ata22:737ng偏航阻尼系统介绍
图片尺寸1080x810
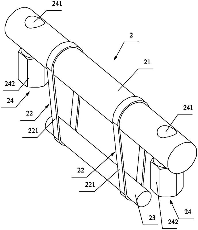
了一种偏航阻尼装置,该偏航阻尼装置包括:安装于安装孔的偏航阻尼器
图片尺寸689x799
偏航系统
图片尺寸667x542
航空电子设备yd偏航阻尼器
图片尺寸920x690
这题为什么我觉得偏航阻尼器电门应该回off呀
图片尺寸1920x1017
飞机偏航阻尼器的作用是什么?是协调转弯还是增大飞机方向安定性?
图片尺寸499x333
日本najico联轴器
图片尺寸362x299
波音747偏航阻尼器的设计
图片尺寸640x232
压力表阻尼器厂家
图片尺寸750x750
偏航指示器 - 百纯百科
图片尺寸665x523