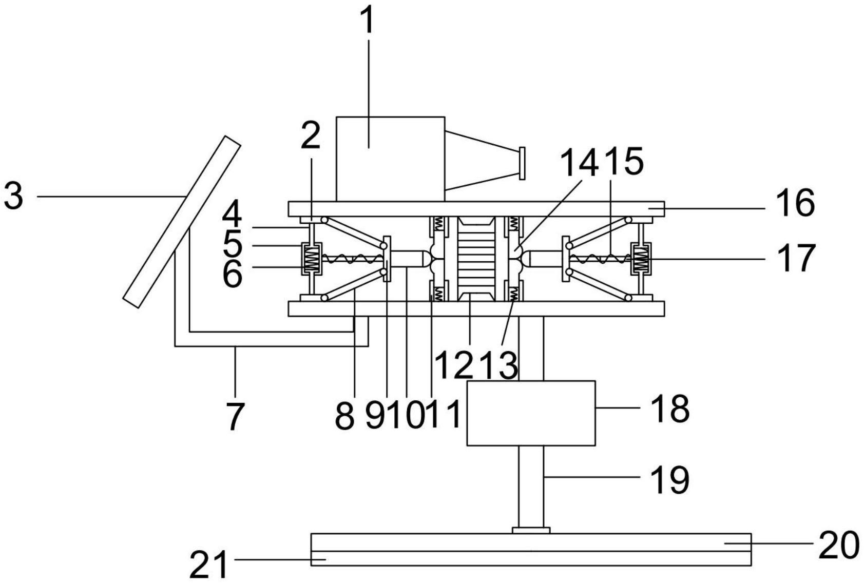
储纬器原理图

cn106350926a_一种拘束飞行的电子储纬器有效
图片尺寸1000x807
cn105256447b_一种储纬器及其储纬方法有效
图片尺寸1000x654
喷水织布机储纬器
图片尺寸548x439
cn205856747u_一种储纬器有效
图片尺寸1000x582
一种电子储纬器的制作方法
图片尺寸1000x906
一种储纬器的张力调节系统的制作方法与工艺
图片尺寸1000x580
cn213570946u_一种双喷储纬器有效
图片尺寸1683x1136
cn105177830b_一种喷气织机用节能储纬器有效
图片尺寸887x724
一种储纬器的制作方法
图片尺寸1000x900
一种应用于喷水织机的储纬器制造技术
图片尺寸1000x772
一种储纬器导纱装置
图片尺寸2529x1316
cn206467394u_一种可调节纬纱张力的储纬器有效
图片尺寸991x1000
单电源ipm模块在交流变频调速控制器中的应用
图片尺寸422x324
一种可调节纬纱张力的储纬器制造技术
图片尺寸995x1000
一种纺织用双喷储纬器的制作方法
图片尺寸855x1000
喷水织布机电器宁波新辽xl1200xl25电子储纬器说明书
图片尺寸3120x4160
一种同步伺服储纬器制造技术
图片尺寸1000x494
一种具有定位功能的储纬器的制作方法
图片尺寸905x1000
一种带有定位结构的喷气织机用定长电子储纬器的制作方法
图片尺寸691x1000
一种储纬器
图片尺寸1031x928