光具座结构

光学实验器材_光学实验盒 光学实验器材凸透镜凸透镜成像小孔成像光具
图片尺寸800x800
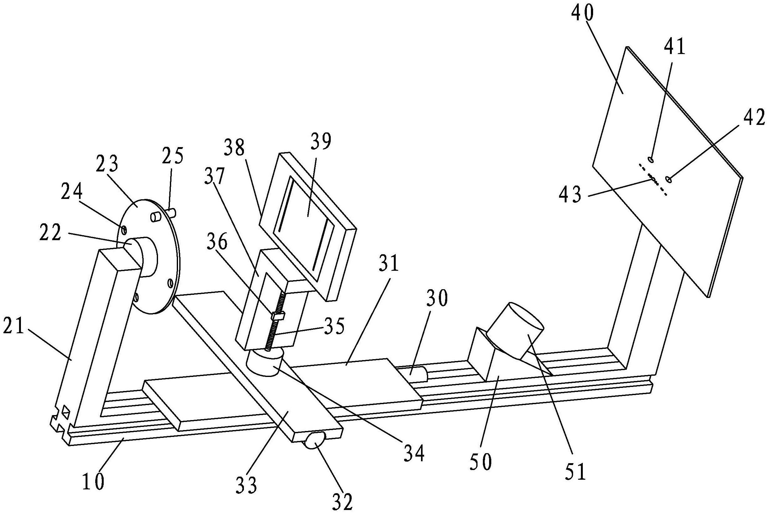
cn105355125b_一种高精度光具座有效
图片尺寸2459x1649
可固定在其它调整架上做方位调整-结构简单,方便实用-优质铝合金制成
图片尺寸226x292
透镜成像光具座的制作方法
图片尺寸935x1000
cn204347330u_两级式可调节的光具座有效
图片尺寸1000x842
具有集成光子器件的光具座子组件的制作方法
图片尺寸1000x704
本实用新型涉及一种灯具,更具体的说是涉及一种灯座.
图片尺寸1000x968
光具座物理光学实验器材 小孔成像实验演示初中物理实验器材批发
图片尺寸790x607
cn201549742u_一种荧光灯座失效
图片尺寸800x1586
大号光具座金属支架探究凸透镜成像规律初中物理光学实验器材教学仪器
图片尺寸750x784
cn101709856a_升降调整光具座失效
图片尺寸1058x1090
加厚型sk光轴支座加厚光轴支撑座加强型光轴支架轴承支撑固定座
图片尺寸1158x798
荧光灯的灯座结构
图片尺寸2047x1237
cn203312600u_一种螺口电木灯座有效
图片尺寸638x1000
cn2244665y_可调式灯座失效
图片尺寸1535x2000
product show
图片尺寸1468x872
【仪器和器材】学习使用光具座的方法,利用平行光测透镜的焦距.
图片尺寸347x238
灯座及灯具的制作方法与工艺
图片尺寸876x817
段的横向尺寸,灯泡座上段与灯泡座下段之间具有锥面或球面作为过渡面
图片尺寸1628x2440
一种组合式灯座 :本技术涉及灯座产品 ,特指一种结构简单
图片尺寸1000x832