光刻机图纸

一种步进式高精度光刻机
图片尺寸1683x1748
一种单面自动光刻机的对位机构
图片尺寸1858x1553
光刻机售价 - 2020年最新商品信息聚合专区 - 百度爱采购
图片尺寸640x408
有钱也不一定能买到进口光刻机,中国的国产光刻机和国际上的差距
图片尺寸640x405
asml光刻机延迟出货应做两手准备
图片尺寸800x460
集成电路光刻机精密运动台控制方法
图片尺寸924x665
一文读懂光刻机的工作原理
图片尺寸992x736
对准装置光刻机及对准方法与流程
图片尺寸443x302
cn101799634b_一种光刻机对准信号多通道采集校准装置有效
图片尺寸1821x825
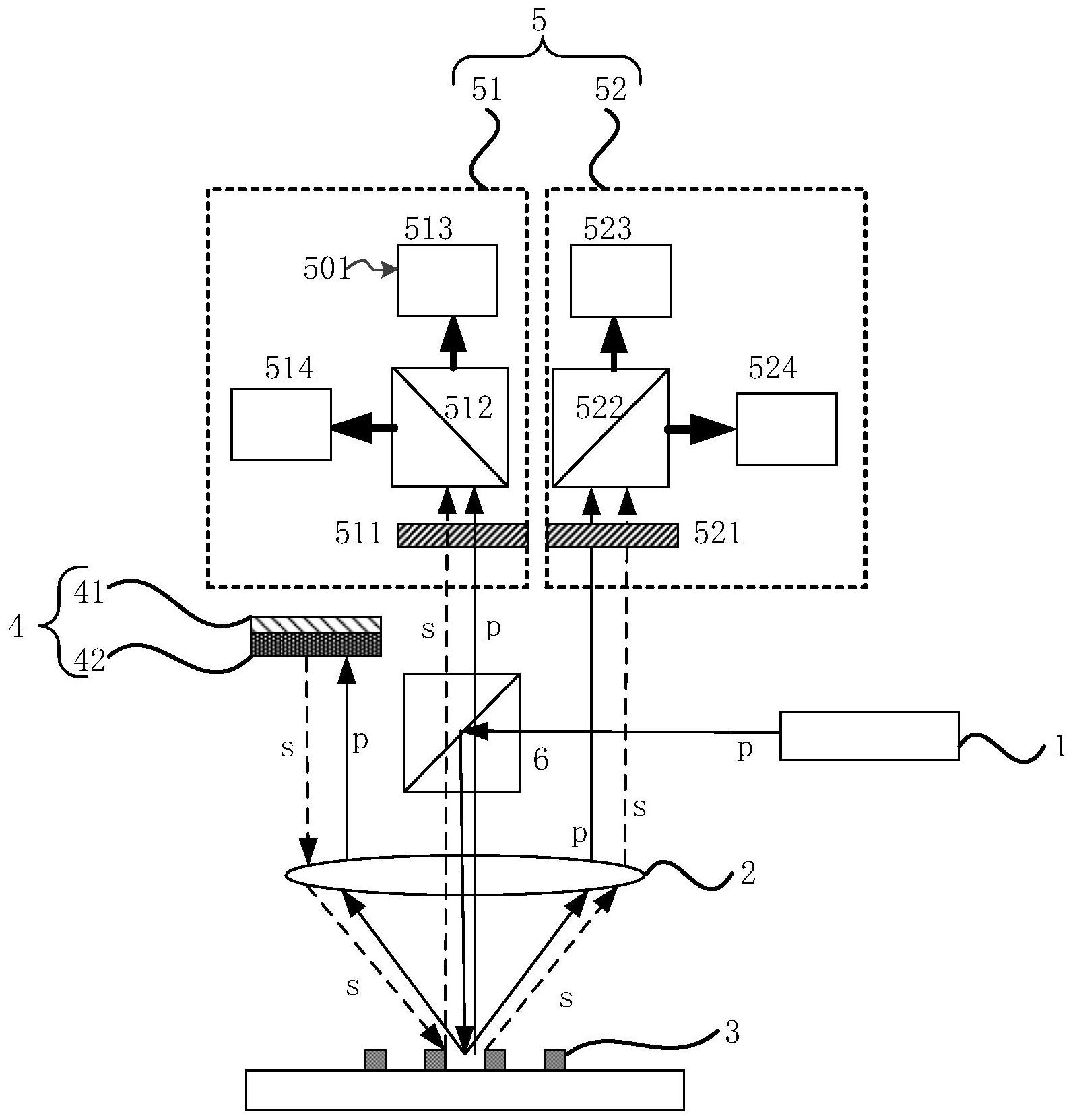
一种对准系统及光刻机
图片尺寸1596x1663
光刻机阿斯麦封神之路
图片尺寸320x267
光刻机,66页深度ppt-icspec
图片尺寸1080x611
03 光刻机结构及工作原理1ppt
图片尺寸1170x810
cn101799634a_一种光刻机对准信号多通道采集校准装置有效
图片尺寸1779x783
给图纸也造不出euv光刻机网友不稀罕国产已崛起
图片尺寸379x299
晶圆芯片光刻机 - 机械设备图纸 - 沐风网
图片尺寸820x706
半导体制造"母机"——光刻机的前生今世_技术难度_的设备_图表
图片尺寸1080x591
比原子弹还稀有全世界仅2个国家掌握制造光刻机为何这么难
图片尺寸640x363
asml光刻机的对准原理是什么
图片尺寸787x602
晶圆芯片光刻机 - 机械设备图纸 - 沐风网
图片尺寸604x616