光刻机结构

一种步进式高精度光刻机
图片尺寸1683x1748
光刻机内部结构如图1所示.
图片尺寸924x665
看完秒懂,光刻机大科普(一)
图片尺寸453x741
接触式光刻机是最简单的光刻机,曝光时,掩模压在涂有光刻胶的晶圆片上
图片尺寸640x469
03_光刻机结构及工作原理1ppt
图片尺寸1170x810
步进光刻机
图片尺寸560x371
为什么光刻机比原子弹还难造?
图片尺寸600x338
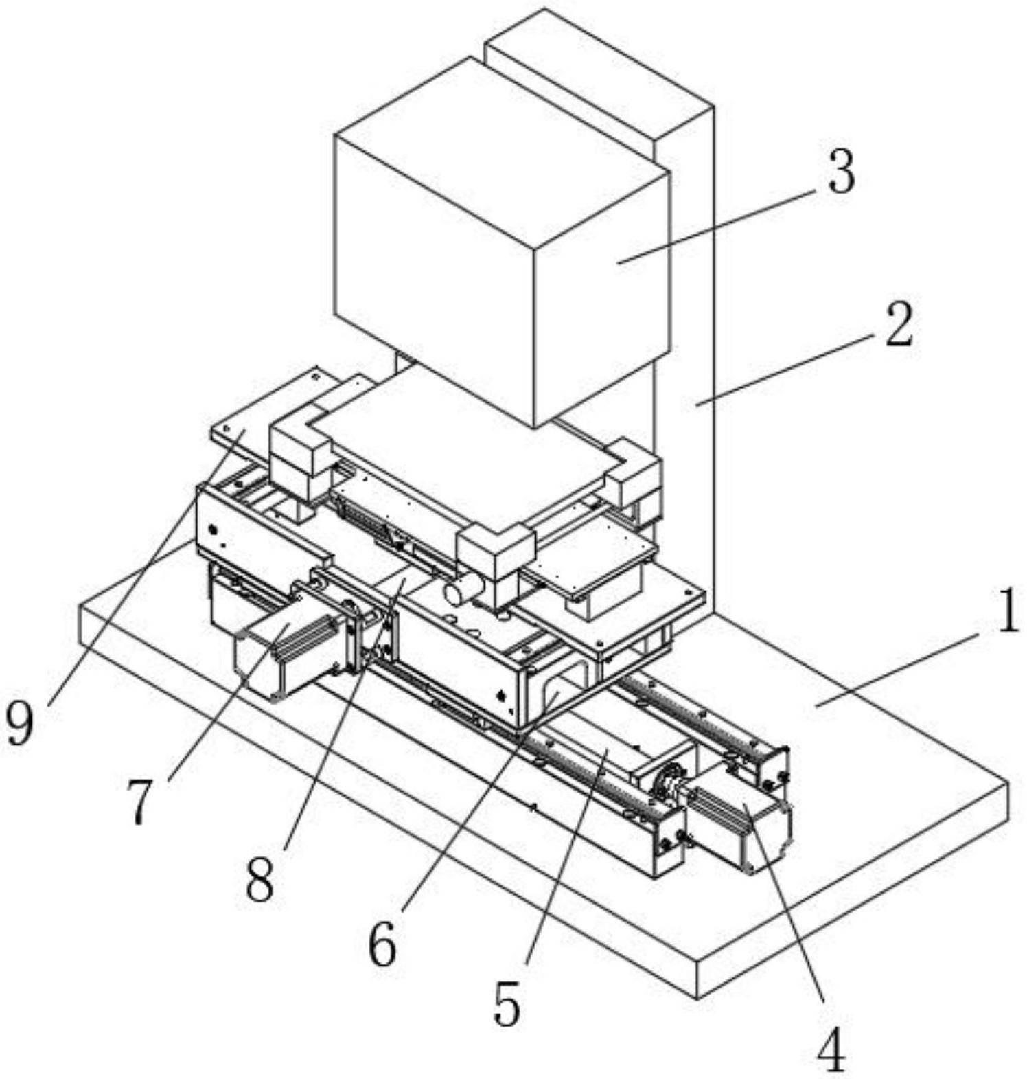
一种单面自动光刻机的对位机构
图片尺寸1858x1553
框架下载_【深度报告】光刻机行业研究框架(附下载)
图片尺寸1024x768
首页 法律新闻 社会聚焦 该种光刻机在工作过程中具有微纳图形结构的
图片尺寸714x269
一台euv光刻机凭什么能卖12亿元?
图片尺寸926x797
半导体行业系列专题(四)光刻机:现代工业集大成者,亟待国产破局(附
图片尺寸1280x720
其应用范围广泛,有木工雕刻机,激光雕刻机,广告雕刻机,玉石雕刻机
图片尺寸828x1000
一种二氧化碳激光雕刻机
图片尺寸1000x725
芯片制造关键的euv光刻机单价为何能超1亿欧元?-电子发烧友网
图片尺寸700x379
euv光刻机里的低调王者
图片尺寸1080x528
一种二氧化碳激光雕刻机的制作方法
图片尺寸1000x726
荷兰阿斯麦5nm光刻机对比国产90nm光刻机崛起之路任重道远
图片尺寸640x513
揭秘制造一台光刻机究竟有多困难
图片尺寸670x377
功率放大器芯片生产用接触式光刻机
图片尺寸1496x1571