光学结构设计

普通光学显微镜的结构与使用
图片尺寸1093x580
大视场航空相机光学系统设计
图片尺寸700x382
1 光学系统结构图使用zemax进行优化设计最终得到的3档变焦结构,如图5
图片尺寸1008x1122
50 mm~1 000 mm大变倍比变焦光学系统设计
图片尺寸919x606
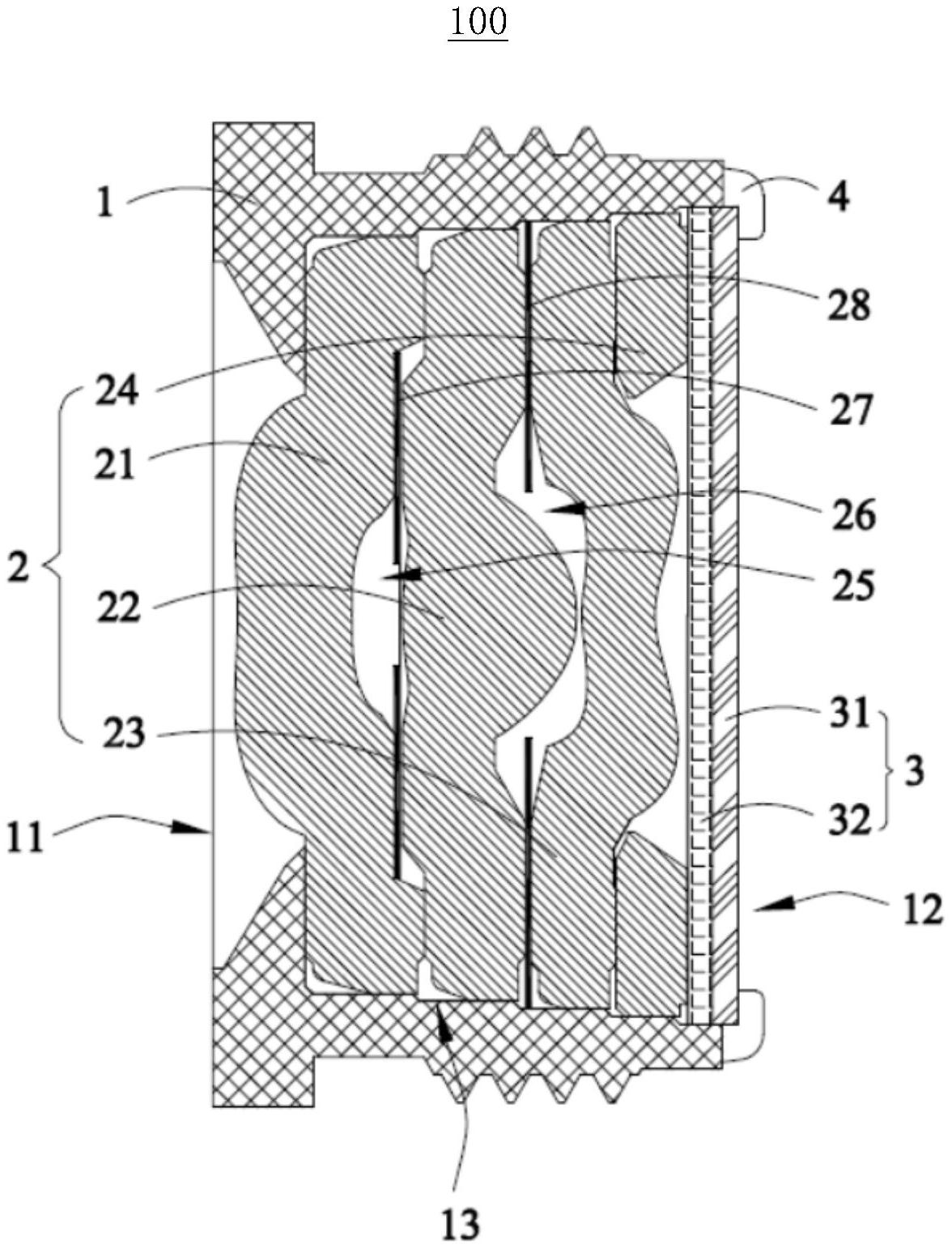
带热封结构的手机光学指纹镜头-爱企查
图片尺寸1176x1542
面板检测用显微镜光学系统设计
图片尺寸1476x498
图5.光学设计模型
图片尺寸661x314
图 采用本文设计结果的光学系统结构
图片尺寸886x423
有源光子系统在设计一类由光学增益唯一实现的拓扑晶格中的潜力.
图片尺寸1000x559
本发明主要涉及光学技术领域,具体是一种激光投影光路结构.
图片尺寸1000x708
固态面阵激光雷达接收光学系统设计
图片尺寸886x510![基于长波红外探测器的消热差轻量化光学系统设计[j].](https://i.ecywang.com/upload/1/img0.baidu.com/it/u=3653859026,2186224638&fm=253&fmt=auto&app=138&f=JPEG?w=801&h=500)
基于长波红外探测器的消热差轻量化光学系统设计[j].
图片尺寸1535x958
一种离轴头戴显示光学系统中自由曲面反射镜的设计方法
图片尺寸1584x843
光学设计 第16章 显微镜物镜设计
图片尺寸3036x1586![激光主动探测拼接光学系统的装调设计[j].](https://i.ecywang.com/upload/1/img1.baidu.com/it/u=1448082920,3880950253&fm=253&fmt=auto&app=138&f=JPEG?w=548&h=500)
激光主动探测拼接光学系统的装调设计[j].
图片尺寸1535x1401
应用光学 2021 42(3): 383-391 镜头的结构主要由调焦组件,主
图片尺寸1535x878
高分辨率长焦广角低畸变光学成像系统设计
图片尺寸700x261
主三镜一体化离轴三反光学天线设计
图片尺寸1535x795
光学产品设计光学设计结构设计
图片尺寸441x430
大视场高像质简单光学系统的光学-算法协同设计
图片尺寸367x193