全向天线结构

一种双频双极化室内全向天线结构的制作方法
图片尺寸443x272
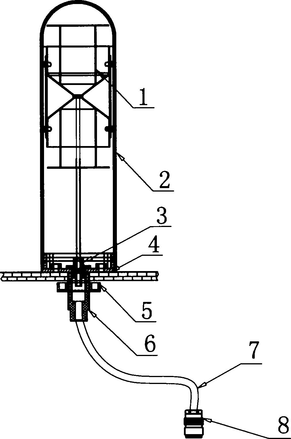
图2 全向天线结构图
图片尺寸1558x1353
cn211605400u_一种十字型全向辐射轻量化天线
图片尺寸1810x1496
健博通698-2700mhz lte全向双极化吸顶天线 宽频天线 室内覆盖
图片尺寸790x559
微带交叉阵子天线同coco天线具有相似的结构和相同的工作原理,因而
图片尺寸400x429
一种宽带多重极化可重构全向天线的制作方法
图片尺寸1000x981
1.1 天线结构图1展示了设计的可重构全向圆极化天线结构.
图片尺寸922x722
新型全向吸顶天线简介ppt
图片尺寸1080x810
一种5g通信全向双极化基站电调天线
图片尺寸1422x2326
发明涉及一种新型的低剖面宽带全向天线,自上而下由三层金属结构组成
图片尺寸1584x785
宽频高增益全向天线-爱企查
图片尺寸1011x1524
天线基本概念ppt
图片尺寸1080x810
热卖室内全向吸顶天线增强移动联通电信手机信号放大器全面接收
图片尺寸800x1281
全向型电视天线结构及全向型电视天线的制作方法
图片尺寸444x435
室内天线有全向(适用于室内)和板状(适用于走廊环境)两种可选,根据
图片尺寸640x364
全频天线
图片尺寸488x483
一种wifi双频双馈线全向天线
图片尺寸1682x932
4g室外全向玻璃钢天线 lte室外炮筒天线 高增益
图片尺寸800x487
介质基板和天线本体,现有结构中的双频全向天线的馈电结构复杂,天线枝
图片尺寸1000x364
cn205846212u_全频带手机天线结构有效
图片尺寸1000x915