全站仪结构图

三维建模 #全站仪 #全站仪使用教程 #全站仪幕墙打点#全 - 抖音
图片尺寸684x696
全站仪的认识和使用(指导书)
图片尺寸635x532
拓普康3002全站仪常用功能简介及方量计算
图片尺寸458x469
宁波全站仪rts352 rts350
图片尺寸566x648
全站仪结构及操作.科力达kts-460型全站仪各部件名称及快 - 抖音
图片尺寸1440x2160
33全站仪的基本构造所属课程建筑工程测量第3版
图片尺寸2532x1425
如何调全站仪 - 抖音
图片尺寸828x1792
全站仪使用方法
图片尺寸602x612
宾得全站仪使用教程-课件(ppt演示)
图片尺寸1080x810![拓普康gts-330n型电子全站仪使用说明书:[2]](https://i.ecywang.com/upload/1/img0.baidu.com/it/u=2950885319,2890178202&fm=253&fmt=auto&app=120&f=JPEG?w=800&h=1131)
拓普康gts-330n型电子全站仪使用说明书:[2]
图片尺寸2380x3364
全站仪使用超简单!高清教程实例2天教你玩转全站仪,测量员必备
图片尺寸885x668
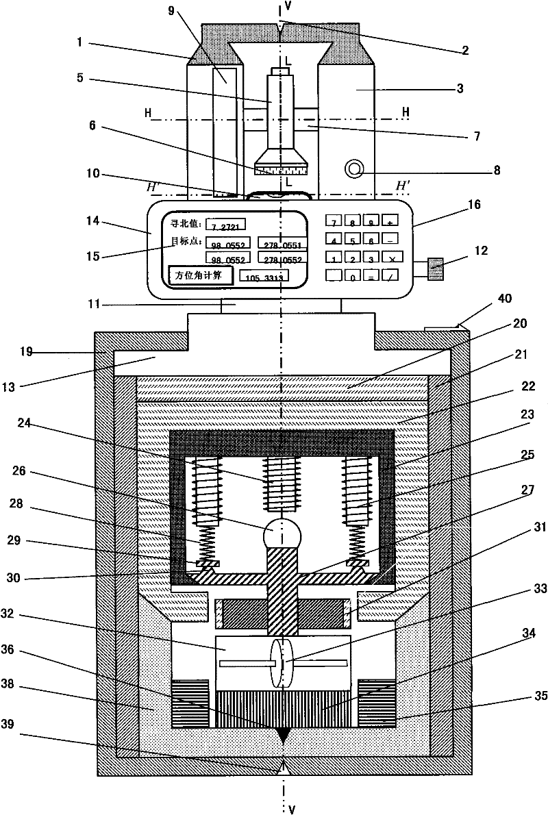
一种磁悬浮陀螺全站仪
图片尺寸800x1190
苏一光全站仪认识1ppt
图片尺寸1080x810
一种用于城市规划测量的全站仪
图片尺寸1023x1158
测量员升职加薪全靠这:全站仪现场实操全彩图解,动态展示容易懂,手
图片尺寸1062x795
拓普康全站仪es602g免棱镜激光全站仪电子说明书
图片尺寸660x744
全站仪的使用方法
图片尺寸600x544![尼康dtm-300,310系列全站仪使用手册:[9]](https://i.ecywang.com/upload/1/img0.baidu.com/it/u=2921207567,2617884301&fm=253&fmt=auto&app=138&f=JPEG?w=500&h=714)
尼康dtm-300,310系列全站仪使用手册:[9]
图片尺寸1668x2381![尼康dtm-801,831,851 系列全站仪使用手册:[2]](https://i.ecywang.com/upload/1/img0.baidu.com/it/u=1566263288,2120246379&fm=253&fmt=auto&app=138&f=JPEG?w=500&h=769)
尼康dtm-801,831,851 系列全站仪使用手册:[2]
图片尺寸1475x2268
一种操作方便的全站仪的制作方法
图片尺寸700x1000