共轴反转原理图

共轴反转直升机 空气动力原理
图片尺寸600x450
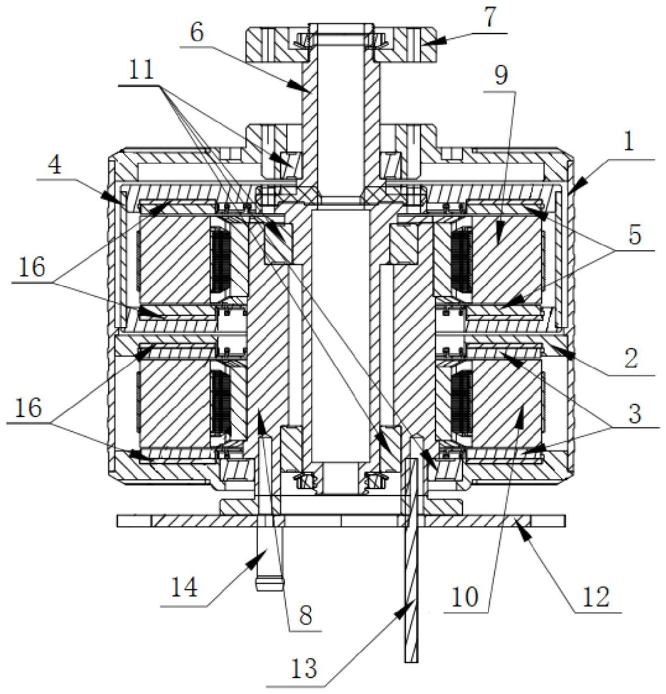
一种电动飞机用共轴反转轴向磁通电机
图片尺寸1347x1405
solidworks皮带轮驱动的同轴反转机构
图片尺寸1054x1933
一种共轴反转双旋翼传动装置
图片尺寸1855x1374
共轴反转双旋翼驱动系统技术方案
图片尺寸1000x503
500级 精密共轴 直升机,新增零件成本报表.(试飞录象 另帖发布)
图片尺寸1100x1180
用solidworks制作的:达芬奇反转机构
图片尺寸633x754
用这些动图告诉你同轴反转螺旋桨的工作原理
图片尺寸330x360
3d建模软件中如何精确高效地绘制同轴反转机构
图片尺寸1046x677
混合动力双共轴同侧反转倾转旋翼飞行器的制作方法
图片尺寸1000x755
用solidworks制作的锥齿轮同轴反转机构
图片尺寸854x480
用solidworks制作的锥齿轮同轴反转机构
图片尺寸1054x1933
干货分享用solidworks设计的手柄驱动装置
图片尺寸620x765
电动双共轴同侧反转倾转旋翼飞行器的制作方法
图片尺寸1000x776
用这些动图告诉你同轴反转螺旋桨的工作原理
图片尺寸330x360
卡52攻击直升机共轴双浆原来是这么转的 gif动态图最直观展现
图片尺寸342x360
共轴对转双旋翼直升机主减速器构型分析
图片尺寸1599x1255
用solidworks锥齿轮同轴反转机构
图片尺寸1726x1079
用solidworks画一个活塞驱动的同轴反转机构
图片尺寸613x861
同轴反转螺旋桨的原理, 用 13 张动图 12 架飞机, 会让你看的清楚明白
图片尺寸374x360