再生塔结构图

合成氨再生塔cad图纸dwg图纸
图片尺寸594x674
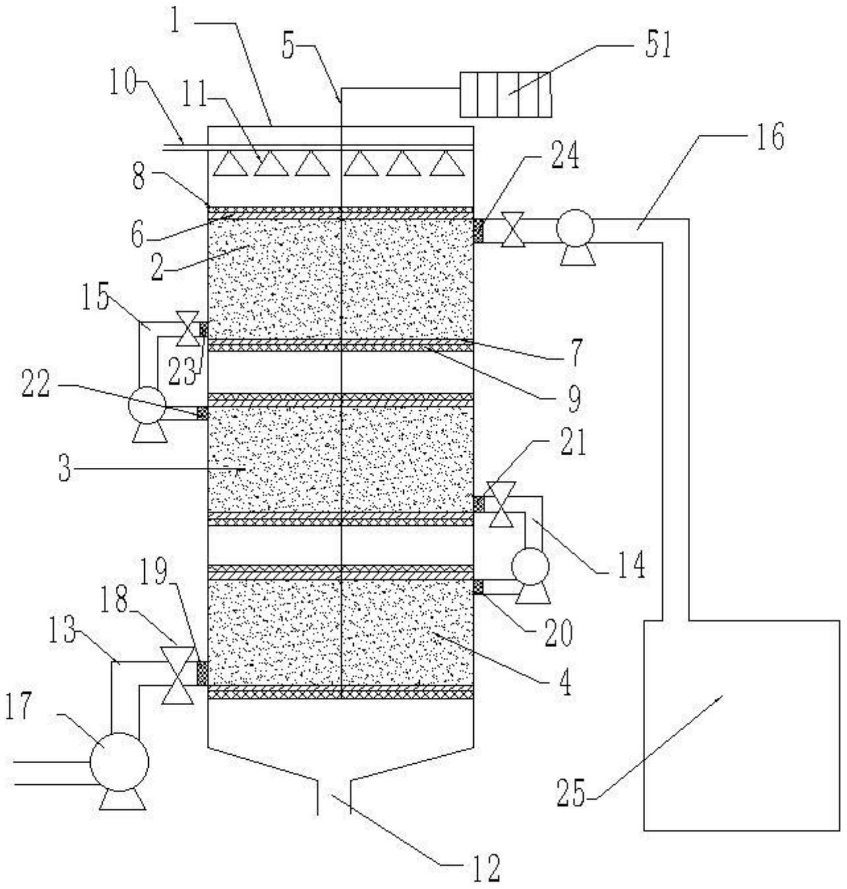
一种气体脱硫母液再生综合塔
图片尺寸1332x2479
共沸剂再生塔装配图
图片尺寸820x1160
环保节能再生污水处理设备的制造及其应用技术
图片尺寸650x1000
cn201534001u_洗油再生塔失效
图片尺寸1446x2864
cn101434871b_脱硫再生联合塔有效
图片尺寸1087x1769
cn101708409a_颗粒苯甲酸钠尾气综合回收塔及工艺有效
图片尺寸1546x1718
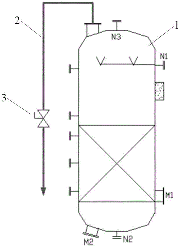
一种贫脱硫液用再生塔的制作方法
图片尺寸318x471
填料和支撑件,脱硫段设在塔体下部,再生段设在塔体上部,引射自吸装置
图片尺寸359x477
一种可再生天然气脱汞塔的制作方法
图片尺寸303x443
脱硫塔再生塔cad图纸
图片尺寸1076x909
硫化氢吸收工段再生塔硫化氢解吸塔单溢流
图片尺寸525x742
环保节能再生污水处理设备的制造及其应用技术
图片尺寸721x1000
一种新型再生塔顶部实时视察系统的制作方法
图片尺寸786x1000
填料塔厂家_废气填料喷淋塔设备
图片尺寸504x377
一种脱硫再生塔电动液位调节装置的制作方法
图片尺寸961x1000
冷却塔结构图山东冷却塔什么是冷却塔联铭湿式冷却塔
图片尺寸1000x857
cn110203992a_一种减少螯合树脂塔再生废水排放量的方法
图片尺寸731x1000
100万脱硫塔再生塔结构图1
图片尺寸741x540
一种可再生的离子交换树脂塔及其再生方法
图片尺寸1691x1775