冰箱门限位块

一种冰箱用开门限位块机构-爱企查
图片尺寸800x616
博世kan62s80ti对开门冰箱限位块博世kan62s80ti对开门冰箱采用了智能
图片尺寸550x367
一种带有自锁功能的冰箱门体限位块结构及基于其的冰箱制造技术
图片尺寸1000x491
wg9725520727 限位块总成
图片尺寸800x450
11款限位块 wg9725520727
图片尺寸800x600
一种冰箱门体的限位块结构的制作方法
图片尺寸941x444
关门带自锁功能的冰箱门体限位块结构的制作方法
图片尺寸588x390
限位块停止块凹凸定位块cat米思米标准特价库存现货
图片尺寸1152x1152
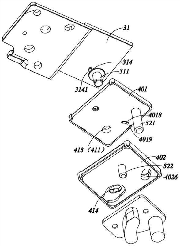
cn110411093a_一种冰箱门体限位结构在审
图片尺寸474x1000
cn206001772u_一种带有自锁功能的冰箱门体限位块结构及基于其的冰箱
图片尺寸1000x494
冰箱层架限位结构和冰箱-爱企查
图片尺寸1964x2256
车门吊具限位块
图片尺寸3024x4032
平开窗限位器免打孔滑撑限位块安全锁内外开窗大小定位限位片锁扣
图片尺寸800x800
限位器及冰箱制造技术
图片尺寸1000x674
铝合金移窗推拉窗限位块窗户限位器防撞块塑料块卡扣固定器防开窗
图片尺寸280x380
缓冲缓冲胶垫适配经典全顺中门块侧门垫限位块中门缓冲胶块
图片尺寸750x562
乐享新鲜小生活 奥马bcd-313wdb冰箱评测
图片尺寸550x367
cn210663553u_一种冰箱门体限位结构有效
图片尺寸1000x755
实用新型一种新型冰箱门体限位,定位的铰链机构授权我要购买申请号
图片尺寸400x335
带有铰链组件的冰箱-爱企查
图片尺寸588x800