冲击器结构图

一种反循环冲击器及系统-爱企查
图片尺寸636x800
组合供气式潜孔风动冲击器
图片尺寸1376x2272
低风压潜孔冲击器90型
图片尺寸1275x1753
中翔90无阀中风压冲击器
图片尺寸723x1024
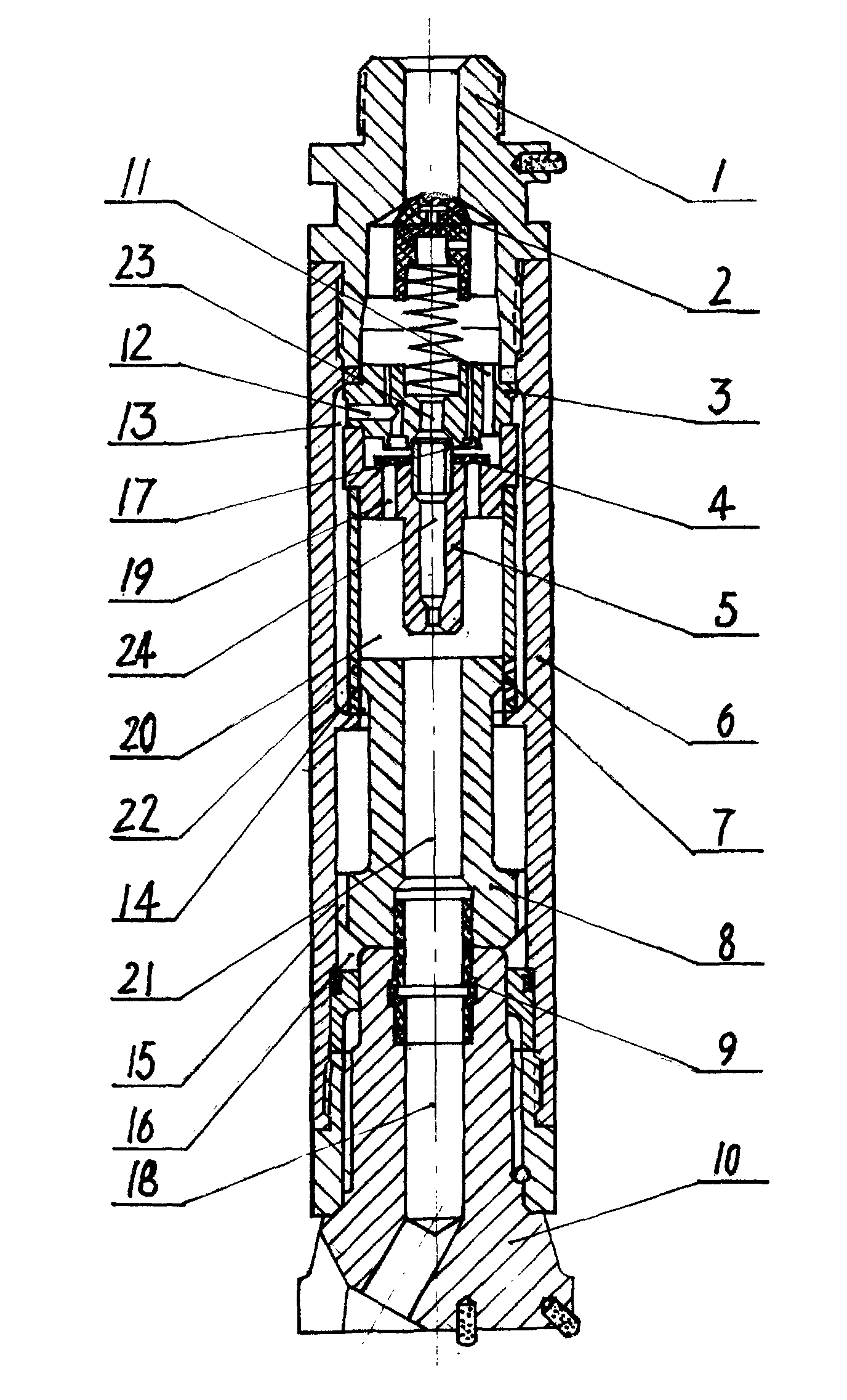
一种带导向冲击器结构的制作方法
图片尺寸344x443
p>以安装在臂杆前端的冲击器,通过臂杆上,下,左,右移动冲击破 碎岩
图片尺寸665x523
cn85204567u_混合排气式潜孔风动冲击器失效
图片尺寸1248x2304
spm110冲击器
图片尺寸688x878
图 液力扭转冲击器的基本结构
图片尺寸1575x507
一种非开挖扩孔冲击器的制作方法
图片尺寸391x1000
气动潜孔冲击器凭借其结构简单,操作方便,便于维修,可有效清除井底
图片尺寸422x707
液压冲击器归类错误被罚89万
图片尺寸671x388
一种冲击器的制作方法
图片尺寸478x1000
一种全液压整体式冲击器制造技术
图片尺寸404x1000
一种贯通式潜孔冲击器
图片尺寸800x1550
一种机械式震动冲击器的制作方法
图片尺寸535x1000
气动潜孔冲击器凭借其结构简单,操作方便,便于维修,可有效清除井底
图片尺寸397x695
一种液压冲击器
图片尺寸1000x623
基于排屑性能的扩孔气动冲击器设计方法
图片尺寸700x640
图 冲击器
图片尺寸359x580