冲浪板设计图

500108冲浪板图案设计
图片尺寸400x400
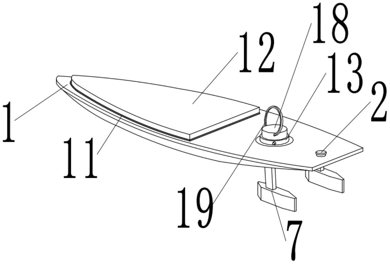
一种不易翻覆的冲浪板-爱企查
图片尺寸800x498
冲浪板设计. 矢量冲浪板着色集照片
图片尺寸450x300
【2019】buck teeth 水上冲浪板设计
图片尺寸2129x3842
夏天还会远吗?#驯浪动力冲浪板 #驯浪 - 抖音
图片尺寸3000x4000
冲浪板1.jpg
图片尺寸2480x1908
本外观设计产品的名称:电动冲浪板.2.
图片尺寸1022x780
抽象矢量现代冲浪板设计图片id: 394870
图片尺寸800x800
冲浪板的设计与制作
图片尺寸3000x2123
产品拍摄——冲浪板
图片尺寸3000x4500
冲浪板
图片尺寸1100x1112
矢量冲浪板设计模板
图片尺寸1100x1100
一种可快速更换电池体的电动冲浪板的制作方法
图片尺寸444x253
冲浪板平面设计图形
图片尺寸714x1200
冲浪板
图片尺寸951x1200
卡通扁平化冲浪板设计
图片尺寸360x360
平板冲浪板孤立在白色
图片尺寸931x1200
冲浪板
图片尺寸1100x1159
冲浪板
图片尺寸1100x1100
一种具有充气结构的冲浪板
图片尺寸1326x899