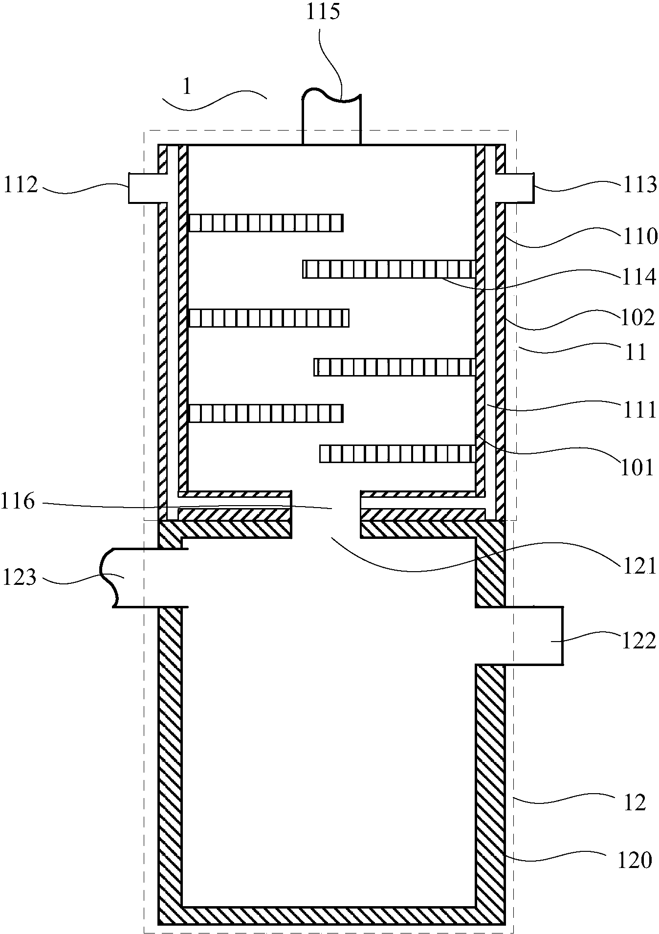
冷阱装置图

冷阱的结构及布置方式
图片尺寸361x356
一种循环式冷阱装置_cn201821792116.3_知雀网
图片尺寸756x1000
ct40低温冷阱间接冷却
图片尺寸1887x1168
being系列冷阱用于吸附气体或捕集油蒸汽的优选装置
图片尺寸624x358
一种粉制剂兽药用冻干机冷阱制造技术
图片尺寸1000x828
一种高效真空冷阱和高效真空冷阱装置
图片尺寸820x1000
真空系统中的冷阱
图片尺寸550x328
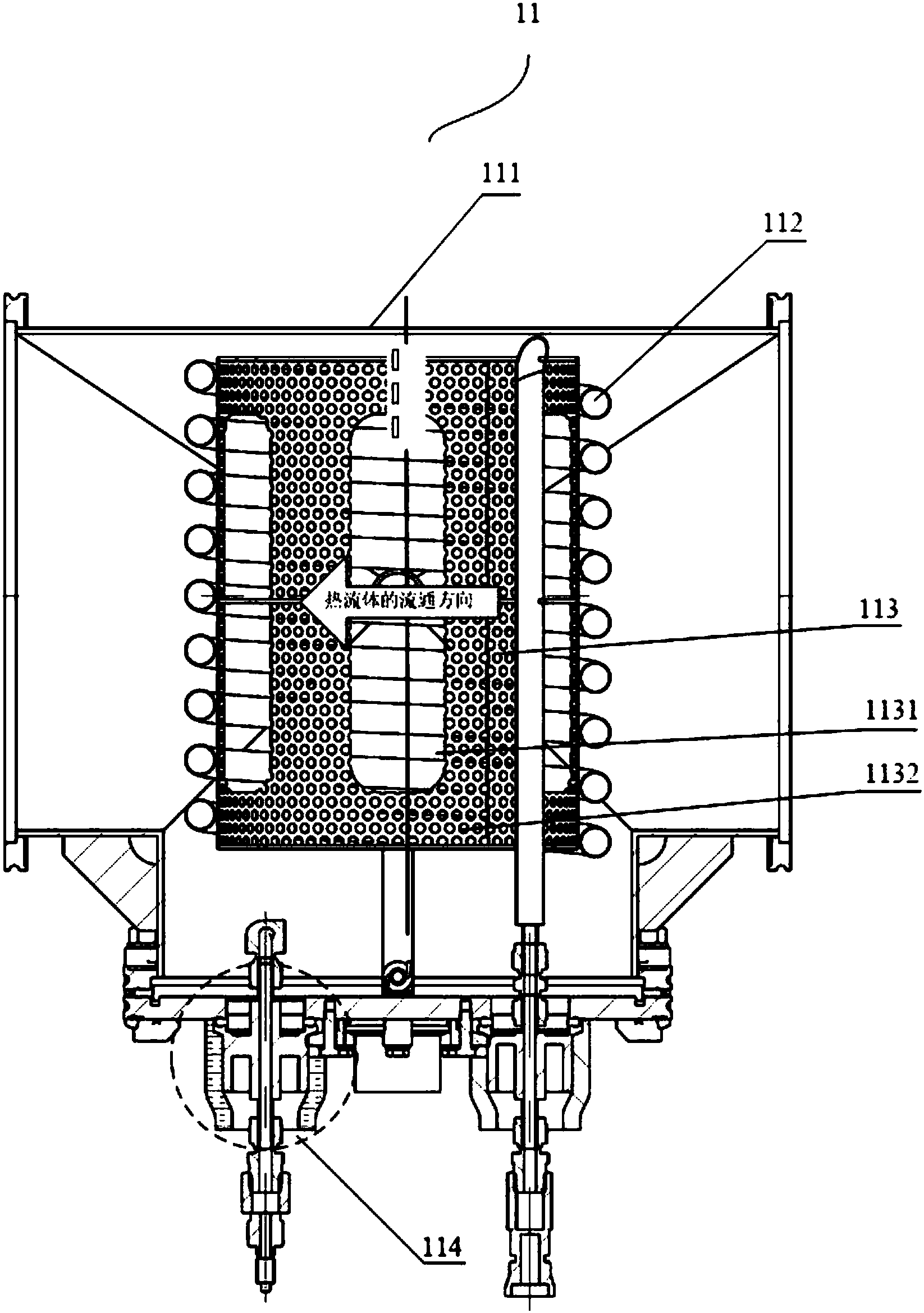
一种循环式冷阱装置
图片尺寸756x1000
cn106591803a_一种lpcvd系统冷阱装置有效
图片尺寸1707x1915
一种循环式冷阱装置的制作方法
图片尺寸758x1000
cn106178580a_一种冷阱装置失效
图片尺寸1000x892
cn108888983a_一种冷阱及共蒸镀膜装置在审
图片尺寸1646x2339
一种高效的钠蒸汽冷阱回收装置及方法与流程
图片尺寸444x343
冷阱装置尾气处理系统及半导体生产设备
图片尺寸1348x1910
一种痕量挥发性有机物低温富集及热解析一体化冷阱的制作方法
图片尺寸1000x900
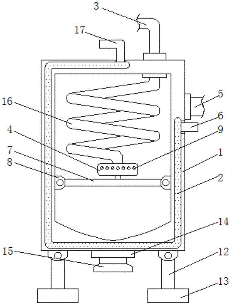
冷阱
图片尺寸1000x438
三dhjf -冷阱结构图
图片尺寸1024x636
一种冻干机的冷阱捕冰系统
图片尺寸1825x1284
外冷式冷阱的制作方法
图片尺寸692x793
冷阱作为一种冷却装置,可以通过冷凝温度的设置捕获特定气体分子;也
图片尺寸730x407