准直器结构

光纤准直器的基本结构
图片尺寸1080x329
p>准直器属于光纤通信光器件的用于输入输出的一个光学元件,其结构很
图片尺寸532x506
典型的光纤准直器结构如下图(以c-lens为例),从光纤端面出射的,具有较
图片尺寸1595x779
一种开缝分段无级可调的准直器的制作方法
图片尺寸919x1000
cn212229240u_一种光纤四纤准直器有效
图片尺寸1774x712
cn112327502a_一种带有开口调节的探测器准直器在审
图片尺寸1454x1159
cn202404943u_一种准直器失效
图片尺寸588x324
典型的光纤准直器结构如下(以c-lens为例),从光纤端面出射的,具有较大
图片尺寸749x274
一种光纤准直器的制作方法
图片尺寸1000x413
一种高功率光纤准直器的制作方法
图片尺寸1000x515
iso 4037标准推荐的照射室和准直器的结构见图4.
图片尺寸500x242
准直器属于光纤通信光器件的用于输入输出的一个光学元件,其结构很
图片尺寸422x444
cn104317003a_一种同轴光准直器及其制作方法失效
图片尺寸1000x524
创新理念在光纤准直器装配技术研究中的应用
图片尺寸375x299
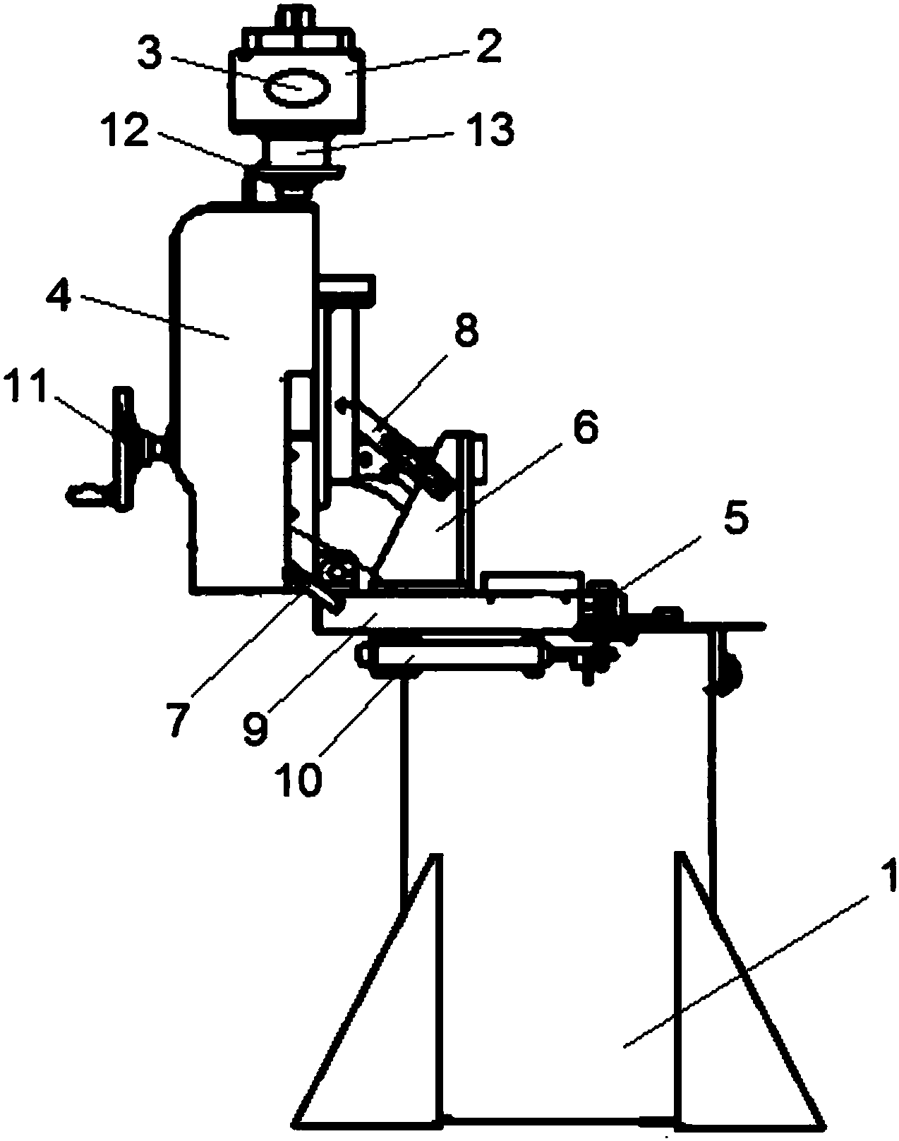
一种准直器调节结构
图片尺寸1274x1617
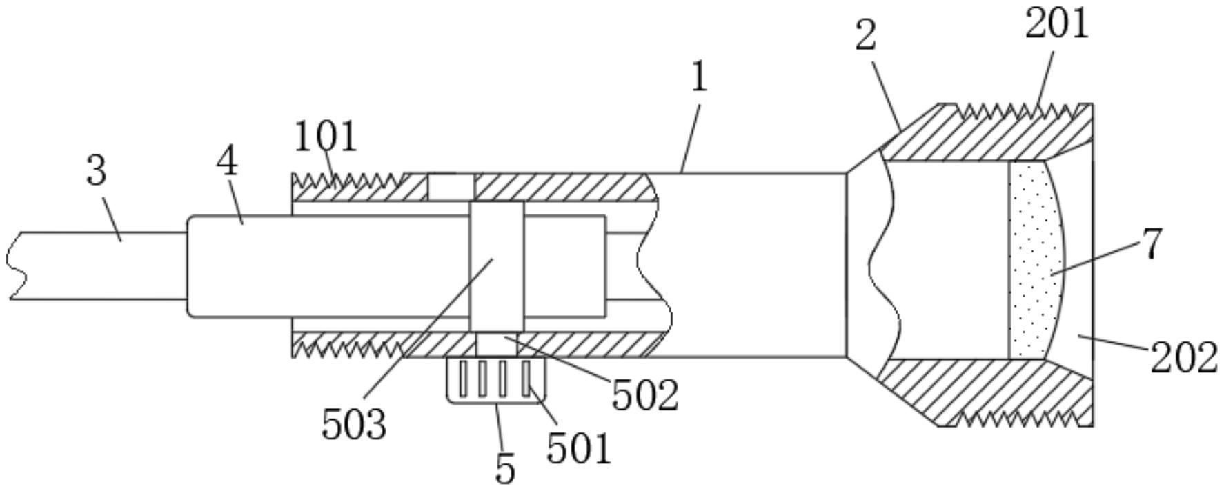
一种便于安装的准直器的制作方法
图片尺寸1000x538
准直器属于光纤通信光器件的用于输入输出的一个光学元件,其结构很
图片尺寸502x323
不仅能够实现对叶片位置的二次反馈,且拉绳传感器结构简单,对多叶准直
图片尺寸837x1000
一种伽玛刀准直器的制作方法
图片尺寸1000x879
cn105204122a_光纤准直器组装方法以及光纤准直器失效
图片尺寸1000x419