分切机图纸

ymis01 在线分切机
图片尺寸1535x814
一种隔膜分切机的制作方法
图片尺寸1000x691
分切机图纸下载_工程图纸_cad图纸 - 制造云 | 工程图纸
图片尺寸530x336
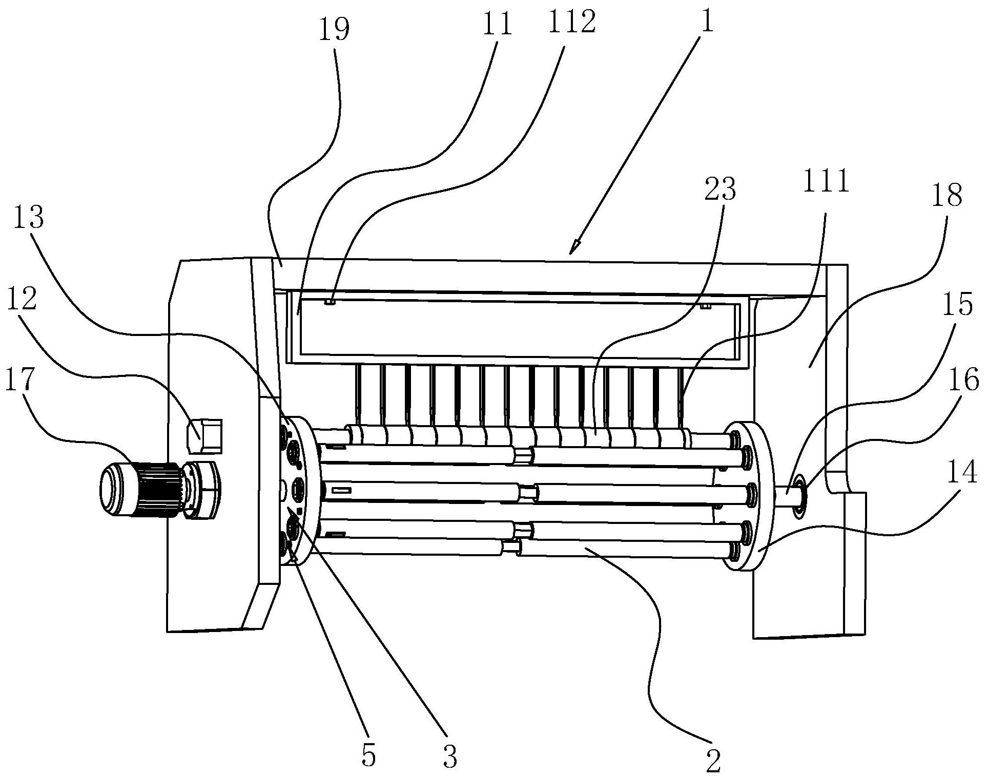
cn213439802u_一种胶带分切机有效
图片尺寸1926x1521
一种薄膜分切机的制作方法
图片尺寸1000x958
一种分切机的制作方法
图片尺寸1000x734
一种压纹分切机的制作方法
图片尺寸949x1000
蓝海华腾变频器在四电机高速分切机的应用方案
图片尺寸671x358
电脑裁切机图纸 切布纸机三维图纸 定长裁切机3d图分切机图纸模型
图片尺寸838x642
一种盘纸分切机
图片尺寸2000x978
1600立式分切机可切双零铝箔总图cad图纸
图片尺寸798x561
纸张高速自动分切机的设计【全套设计含6副cad图纸,说明书】
图片尺寸794x1123
无纺布自动分切收卷机的制作方法
图片尺寸1000x887
高速自动分切机设计【含6张cad图纸】
图片尺寸839x594
高速自动分切机设计【全套cad图纸和毕业答辩论文】
图片尺寸820x580
背景技术:薄膜分切机是将较宽的薄膜裁切成若干个窄的薄膜的工艺设备
图片尺寸978x1000
全自动分切机的制作方法
图片尺寸1000x797
一种预涂膜分切机的被动放卷装置制造方法及图纸
图片尺寸1000x917
一种分切机制造技术
图片尺寸1000x823
一种电解铜箔用分切机的制作方法
图片尺寸444x312