切片装置

zy6012b 交联电缆切片测试装置
图片尺寸800x916
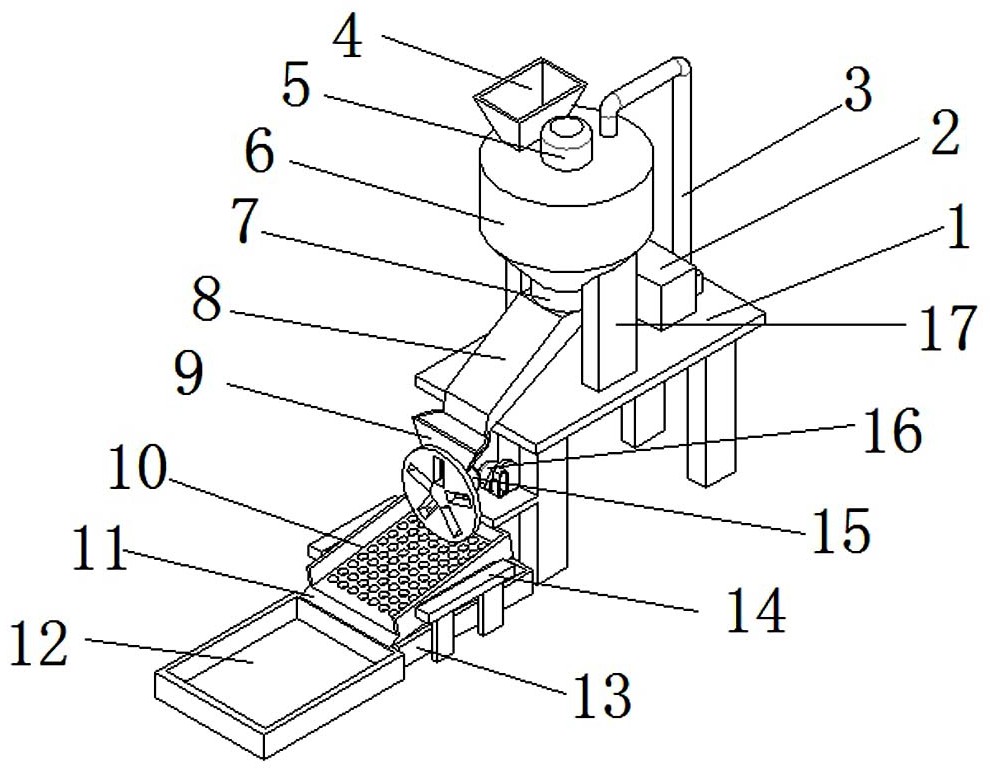
一种中药饮片生产用切片装置的制作方法
图片尺寸443x251
cn110712227b_一种病理切片装置
图片尺寸1903x1336
2jp101m双金片绣(电机切片)侧装置
图片尺寸700x912
一种具有清理功能的食品加工用切片装置-爱企查
图片尺寸751x800
一种豆腐自动切片装置的制作方法
图片尺寸1000x587
一种病理组织切片的全视野成像装置
图片尺寸1390x971
cn213107072u_一种山药加工用切片装置
图片尺寸1585x1405
一种可双面切片的病理切片装置
图片尺寸402x444
一种香菇加工用的切片装置
图片尺寸990x775
一种用于食品加工用切片装置
图片尺寸945x1000
用于玻璃加工的切片装置-爱企查
图片尺寸750x800
公开了一种果蔬切片机,包括机架,安装于机架上的送果装置和切片装置
图片尺寸1899x2379
一种肉类产品的切片装置-爱企查
图片尺寸691x799
一种离心式槟榔切片装置的制作方法
图片尺寸778x1000
一种发圈装饰片的切片装置-爱企查
图片尺寸800x752
cn213381751u_一种滤芯加工用切片装置有效
图片尺寸574x399
一种碳化硅加工用切片装置的制作方法
图片尺寸444x326
cn213061495u_一种纺织加工用切片装置
图片尺寸1667x1121
一种何首乌切片装置
图片尺寸1713x1292