划船机结构

风阻划船机出厂价格大比拼
图片尺寸620x530
一种新型划船机-爱企查
图片尺寸800x718
划船机的制作方法
图片尺寸1000x688
其中划船机一般都采用外挂片和外限位结构,不适用于室外训
图片尺寸849x1000
小编经过大量调研,发现市面上好多划船机还是弹力绳的结构,容易坏不说
图片尺寸750x997
力康来纸牌屋c2风阻划船机测功仪健身器源头厂家
图片尺寸750x1516
康乐佳k7108划船机
图片尺寸790x838
一种划船器,其特征在于,包括机架,座垫,阻尼器组,脚踏,扶手,所述的
图片尺寸975x664
一种易于组装收折风扇的划船器
图片尺寸2086x1830
背景技术划船器又叫划船机,是一种模拟划船运动的健身器材,对腿部
图片尺寸1000x647
目前市面上划船机的类似产品器材基本都是单线运作方式,这种结构训练
图片尺寸586x432
莫比健身 水阻健身划船机 6780元包邮 (6980-200)
图片尺寸578x653
cn306581216s_划船机有效
图片尺寸1137x785
具体涉及一种结构简单,阻尼调节简便且精确的划船机
图片尺寸1000x798
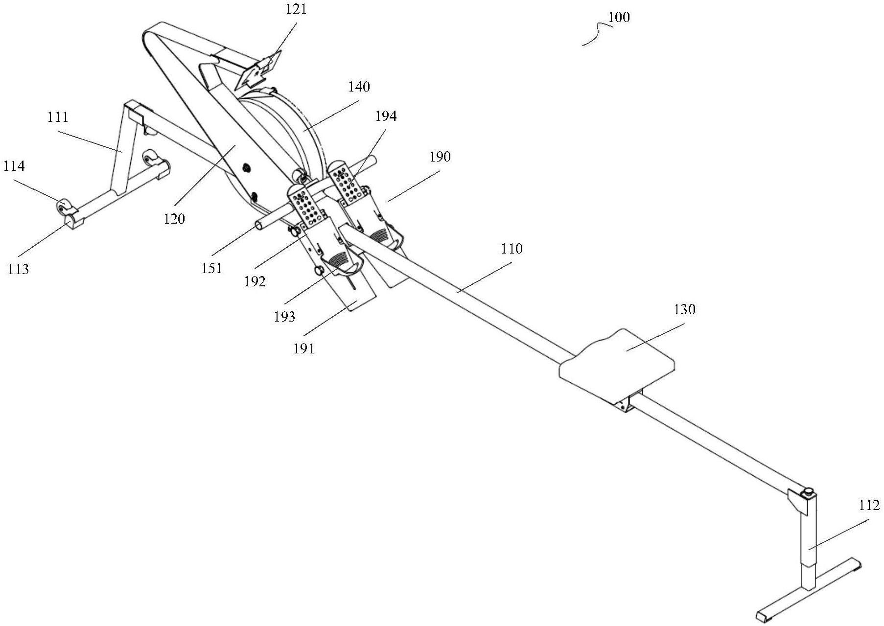
一种动态风阻划船机
图片尺寸1806x1279
cn304345643s_划船器(al8005h)失效
图片尺寸1270x1149
一种家用水阻划船机的制作方法
图片尺寸969x697
背景技术:目前,市场上的划船器机身都采用全封闭设计,飞轮内置于划船
图片尺寸918x1000
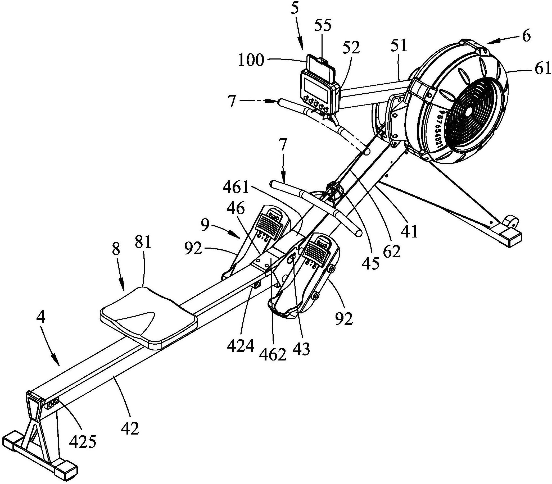
一种划船机的折叠结构的制作方法
图片尺寸444x279
划船健身器之折收定位结构的制作方法
图片尺寸977x1000