刘德稳老师

西南林业大学召开荣获2019年度国家科技进步奖座谈会
图片尺寸640x425
与诗人之交刘德稳
图片尺寸440x439
与诗人之交刘德稳
图片尺寸1080x1440
库存不多,请扫码下单!刘德稳的诗歌写作有刀刃向内的勇气,在他 - 抖音
图片尺寸1438x1660
美篇
图片尺寸1080x1562
醉染图书大学生结构设计竞赛八讲9787564361266视频
图片尺寸800x800
美篇
图片尺寸1080x1439
美篇
图片尺寸1080x1440
美篇
图片尺寸1080x2014
《川江》诗刊2018年5月号‖泸州 9城|野桥/刘德稳
图片尺寸1080x720
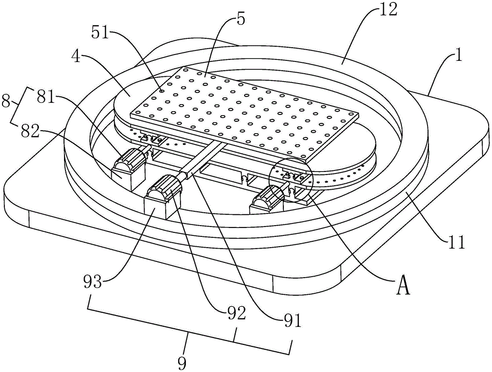
cn209623989u_一种振动方向可调的土木工程结构抗震试验装置
图片尺寸1000x757
作品展示
图片尺寸1119x518
武冈一小女孩骑玩具车掉进3米深水塘七旬老人奋不顾身毅然救人
图片尺寸650x459
贵人鸟折戟:5亿债券实质性违约 被下调评级
图片尺寸775x497
猪的品种识别
图片尺寸450x338