刨刀轴结构

螺钉5头部与刀轴体3有一定间隙,这时刀片压板即可松动,而将旧刨刀取出
图片尺寸598x452
刨刀
图片尺寸616x650
回行程时,刨 刀随抬刀板绕a 刀随抬刀板绕a轴向上抬 起,以减少刨刀与
图片尺寸1080x810
刨刀轴和轴头加工
图片尺寸1221x828
电动机经胶带驱动刨刀轴高速旋转,手按工件沿导板紧贴前工作台向刨刀
图片尺寸330x225
从三角的说明书上搞到的,和小台刨差不多,都可以通过螺丝挤压刨刀
图片尺寸1096x615
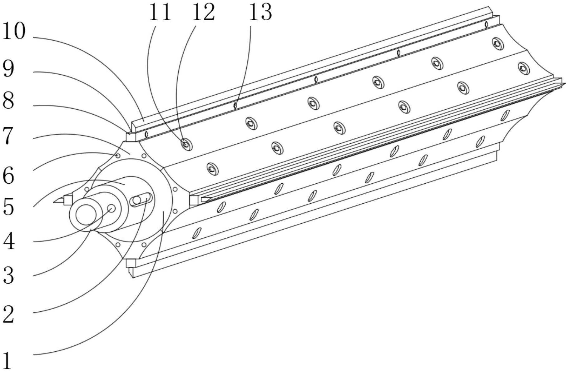
一种可调进刀深度的木工刨刀
图片尺寸1822x1191
刨刀轴封闭型刀槽图
图片尺寸430x219
刨刀轴封闭型刀槽图
图片尺寸650x370
一种带有万向刨刀轴的刨床-爱企查
图片尺寸1529x1575
杭州野生动物世界在说明中称,这是刨刀体的结构示意图./专利说明书
图片尺寸699x367
木工平刨床的选择与安全技术信息_加工_工作台_刀轴上
图片尺寸576x640
木工刨刀轴降噪装置
图片尺寸337x360
厂家舍弃式轻切重切螺旋刀轴平刨压刨刀轴木工刨刀轴双面刨刀轴
图片尺寸790x755
电动刨刀刀轴微调机构-爱企查
图片尺寸1856x1312
82木工电刨刀轴总成配牧田1900b配件82电刨刨刀刨转轴牧田款【4月2日
图片尺寸800x800
木雕工具,木雕文化背景
图片尺寸640x480
机床 机床刀具 刨刀 压刨送料轴
图片尺寸300x300
刨刀
图片尺寸3408x4128
本发明公开了一种凸轮加工装置,其包括:具有刨刀的刨床;竖立设于刨床
图片尺寸1641x1670