制袋机结构图

一种医用自粘式平口袋制袋机-爱企查
图片尺寸1976x904
一种气泡袋制袋机-爱企查
图片尺寸1816x1241
一种制袋机制造技术
图片尺寸1000x375
三边封制袋机系统.docx 9页
图片尺寸876x1251
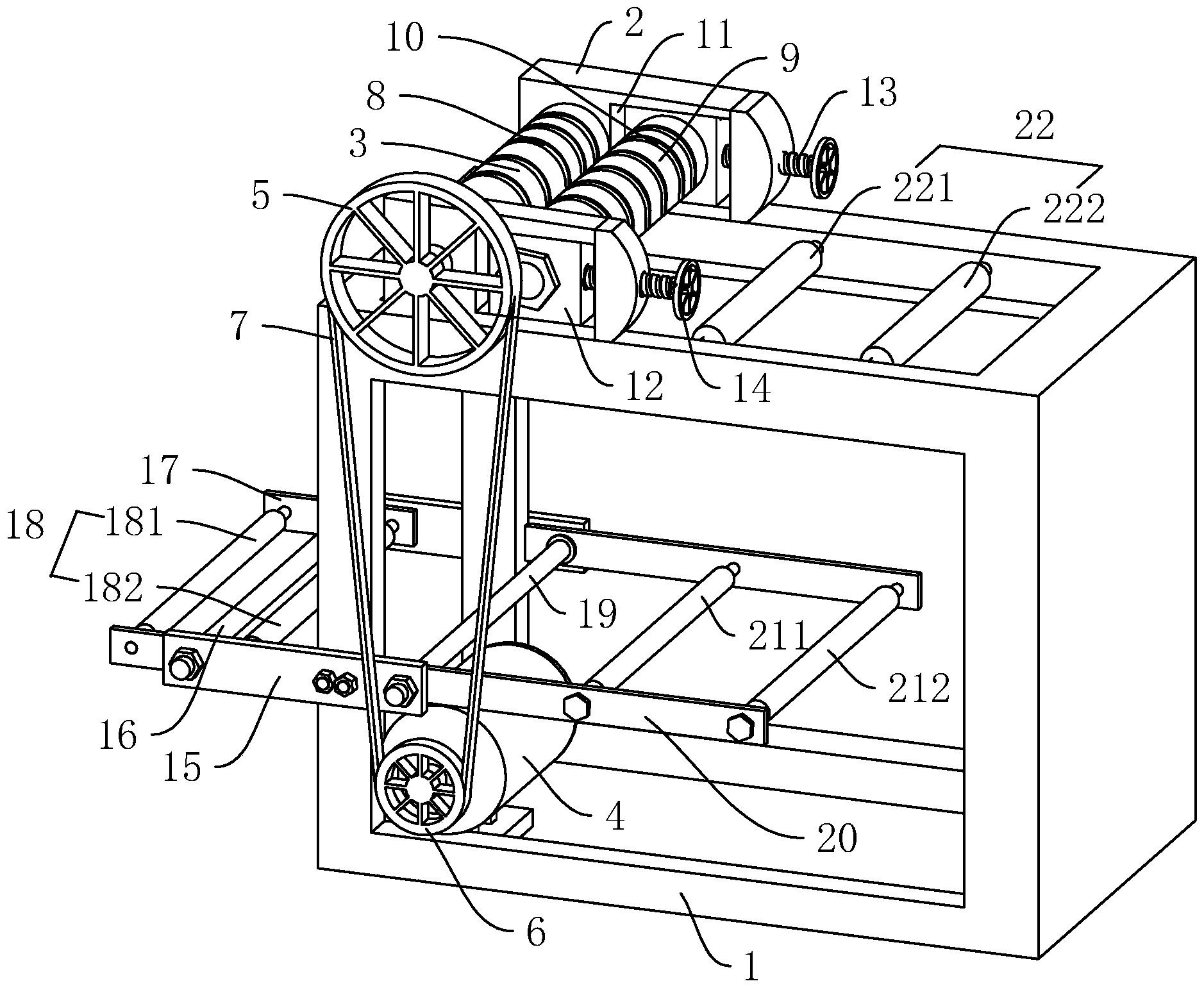
一种制袋机的传送结构-爱企查
图片尺寸1878x1541
一种生活垃圾破袋机的制作方法
图片尺寸860x1000
cn207328961u_一种用于香菇菌种包装机的制袋机构有效
图片尺寸1961x2004
制袋机的制作方法
图片尺寸1000x536
全自动吨袋包装机
图片尺寸1019x700
一种薄膜制袋机的制作方法
图片尺寸1000x841
一种防倾斜的气泡信封袋制袋机的制作方法
图片尺寸444x333
一种气泡袋制袋机封装结构的制作方法
图片尺寸443x406
全自动包装机上袋机结构示意图
图片尺寸494x308
一种新型定量包装机的设计
图片尺寸726x507
辽宁沈阳吨包机每周回顾
图片尺寸858x612
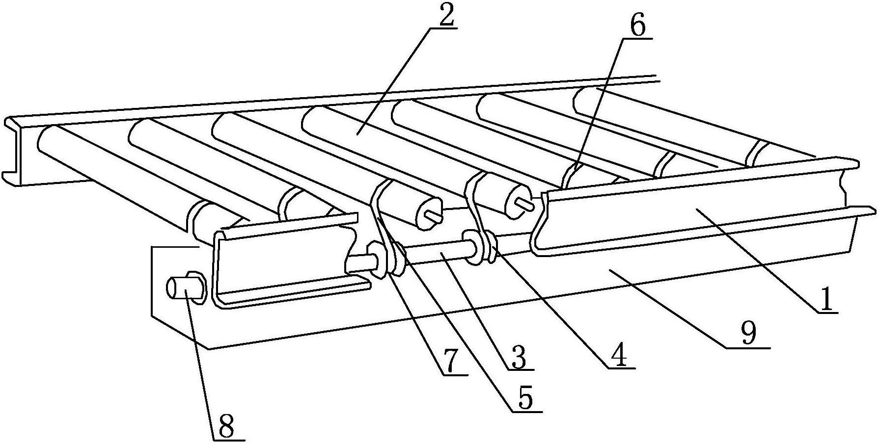
具体涉及一种塑料薄膜制袋机的传送装置,具有结构简单,便于维修的特点
图片尺寸1790x903
一种制袋机
图片尺寸1000x840
一种全自动筒膜制袋包装机的制作方法
图片尺寸1000x971
一种背胶袋制袋机的制作方法
图片尺寸1000x384
一种中封制袋机的制作方法
图片尺寸1000x588