刹车踏板结构

一种制动踏板-爱企查
图片尺寸1963x1750
过渡端和自由端组成,在结构增加踏板刚度的同时,减小踏板臂的重量,从
图片尺寸1045x814
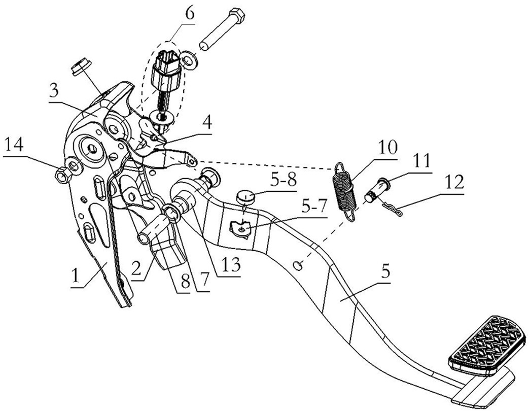
制动踏板的分解图
图片尺寸1506x1722
一种通用刹车踏板的制作方法
图片尺寸443x440
图1 抽动踏板结构示意图
图片尺寸455x318
一种新能源汽车制动踏板的制作方法
图片尺寸1000x783
刹车是制动踏板吗
图片尺寸642x442
制动踏板
图片尺寸711x586
制动踏板机构及车辆的制造方法与工艺
图片尺寸1000x636
一种无底座制动踏板结构的制作方法
图片尺寸443x327
制动踏板总成pdf
图片尺寸800x566
一种单个踏板3级刹车结构的制作方法
图片尺寸600x487
制动踏板组件是汽车限制动力和刹车减速停车的零件.
图片尺寸509x507
摩托刹车踏板机构及使用该摩托刹车踏板机构的摩托车
图片尺寸1370x1454
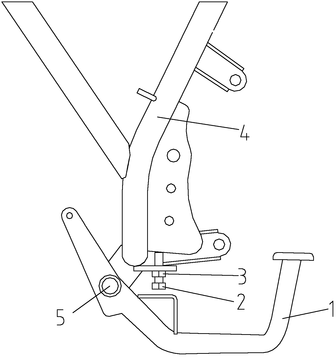
一种制动踏板结构
图片尺寸1965x1723
汽车上这些故障竟然是"伪故障",你知道吗?
图片尺寸500x349
一种带传感器的制动踏板总成的制作方法
图片尺寸998x1000
为什么一踩制动踏板汽车就会停下来
图片尺寸480x291
一种新型制动踏板的制作方法
图片尺寸288x443
制动踏板(机械工程 名词)
图片尺寸520x300