前台设计手绘

jpg酒店前台手绘设计效果方案
图片尺寸650x406
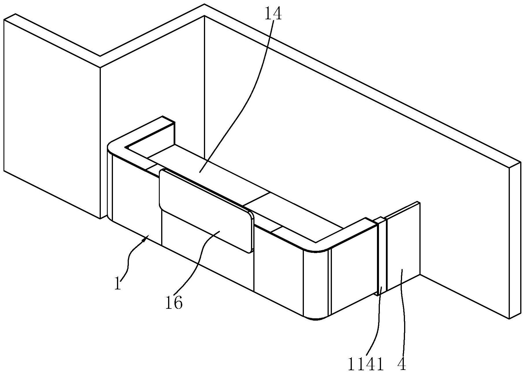
一种模块化拼装钢制前台
图片尺寸1821x1296
分享收藏规划鸟瞰图室内案例建筑立面设计绘聚手绘景观效果图绘聚手绘
图片尺寸1280x907
手绘公司前台设计元素素材免费下载(图片编号:3885089)-六图网
图片尺寸1024x574
的快题模板主题是办公前台设计在此卓越手绘乐乐家祝广大考生考试顺利
图片尺寸1080x1439
前台-马克笔手绘第7张图片
图片尺寸2000x1445
前台手绘效果图绘制
图片尺寸1080x768
快题设计酒店前台效果图
图片尺寸1024x724
6上传-张盛的设计师家园-前台
图片尺寸660x447
部分手绘草图_手绘表现_室内设计联盟 - powered by discuz!
图片尺寸3580x1996
办公司前台简笔画
图片尺寸500x354
前台接待手绘效果图
图片尺寸530x400
柏雅有限公司前台手绘图-叶心军的设计师家园-现代
图片尺寸660x469
效果图参考设计公司前台手绘表现步骤1:确定大的透视关系框架,不要
图片尺寸1080x764
宾馆前台手绘效果图_室内设计_红动手机版
图片尺寸600x830
手绘卡通酒店前台插画免抠元素
图片尺寸780x780
enmu design---lyceem空间设计
图片尺寸1280x870
前台装修效果图
图片尺寸960x1334
手绘酒店前台效果图
图片尺寸600x830
效果图参考设计公司前台手绘表现步骤1:确定大的透视关系框架,不要
图片尺寸1080x764