功分器设计

一种改进型wilkinson功分器的设计方案
图片尺寸462x344
wilkinson功分器模型.
图片尺寸1000x656
基于慢波基片集成波导的x波段功分器设计
图片尺寸1575x1027
一种小型化宽带功分器-爱企查
图片尺寸1500x1918
cn108933315a_一种基于金属脊的双脊矩形波导四路同轴功分器在审
图片尺寸570x435
资料分享t型功分器的设计与仿真
图片尺寸707x293
集总型的威尔金森功分器(建议用于600mhz以下)_集总功分器设计-csdn
图片尺寸925x508
功分器图形
图片尺寸820x508
cn106286074b_一种汽车分电器有效
图片尺寸1064x1280
cn101098032a_腔体式功分器失效
图片尺寸1772x702
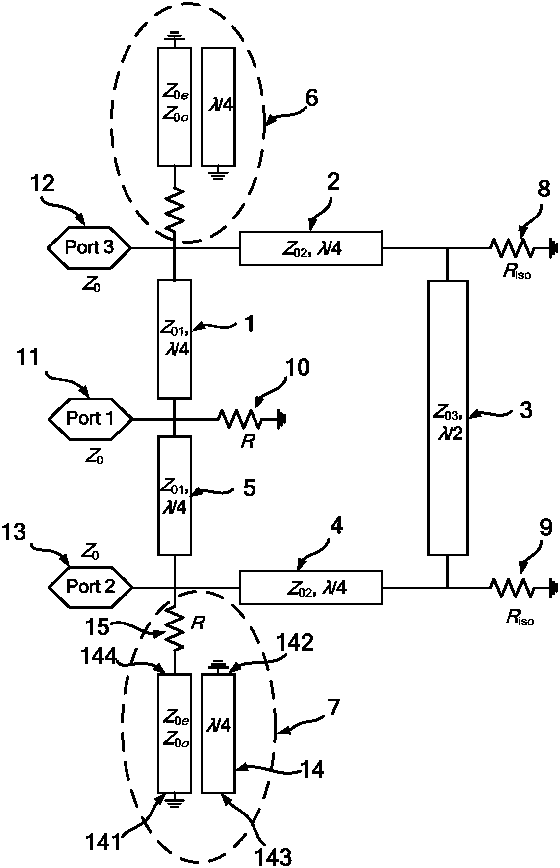
cn108417957a_一种负群时延gysel功分器及其设计方法
图片尺寸1142x1768
及设计方法,其特征是功分器在指定频点上具有一个公共传输零点(阻带)
图片尺寸763x551
一种微带三功分器的制作方法
图片尺寸442x420
一种小型化宽带的空气带状线威尔金森功分器的制作方法
图片尺寸463x383
由分立元件组成的otl电路
图片尺寸526x589
cn105811059b_一种高功率分配比三端口微带功分器有效
图片尺寸1093x1178
第一次画了全分立元件功放请大侠们赐教
图片尺寸1900x1000
cn203574084u_一种4g微带四功分器失效
图片尺寸1000x905
分电器
图片尺寸397x322
一种具有自动检测的分电器制造技术
图片尺寸1000x862