加弹机接尾丝图

沈氏纺织机械越剑加弹机配件打结枪头接尾丝枪头山耐斯方形吸丝枪
图片尺寸800x800
加弹机1000
图片尺寸1920x931
加弹机精抛光打结枪头,涤纶,锦纶长丝接尾巴丝用.
图片尺寸300x300
一种涤纶,锦纶加弹机-爱企查
图片尺寸1495x1730
厂家直销:icbt探丝器(越剑 加弹机 800d)
图片尺寸600x800
加弹机1000
图片尺寸959x1278
纺织机械倒丝机 倒纱机 加弹机辅助设备 无锡远洋 倒筒机 倒丝机
图片尺寸960x960
适用于村田33h加弹机
图片尺寸800x800
加弹机配件山耐斯 打结枪 接尾丝枪 枪头
图片尺寸300x300
加弹机落丝操作流程
图片尺寸1080x810
浙江越剑智能装备股份有限公司_加弹机_空气包覆丝机_经编机_智能验布
图片尺寸800x600
浙江越剑智能装备股份有限公司_加弹机_空气包覆丝机_经编机_智能验布
图片尺寸800x600
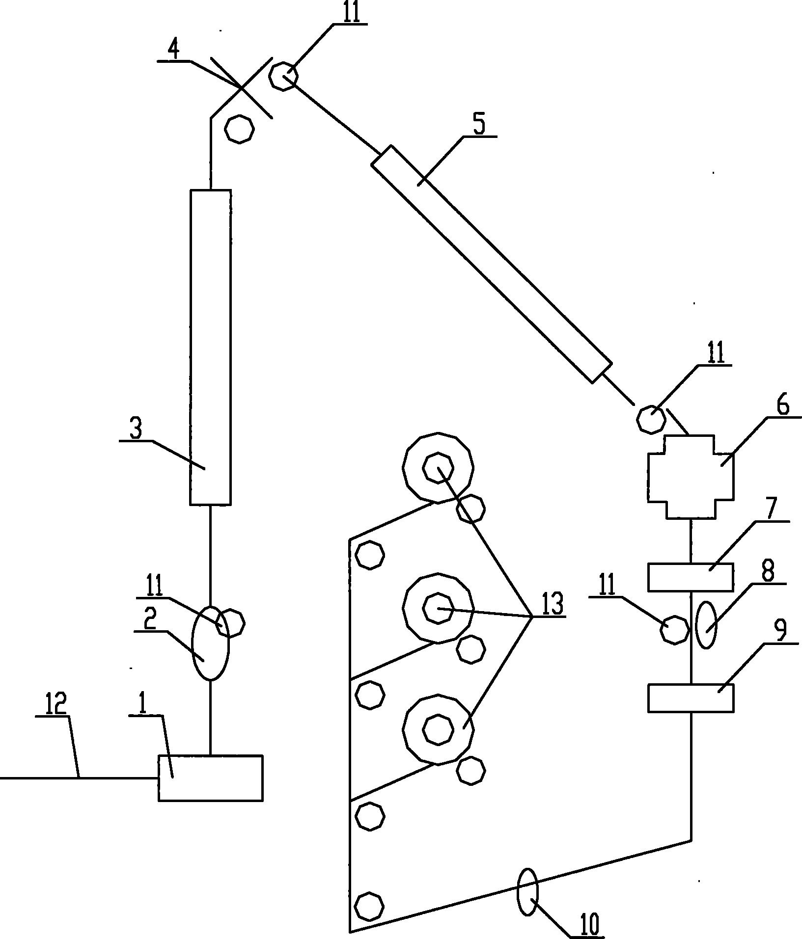
一种长丝加弹机的制作方法
图片尺寸1786x1595
好像还有一些日系车在用, 三根线分别是传感器加热用的12v电源
图片尺寸1505x853
改装改造加弹机双丝系统越剑宏源精功1000型800型切丝器化纤纺织
图片尺寸750x750
越剑1000m型加弹机
图片尺寸750x1334
33h切丝器断丝器切刀加弹机配件化纤越剑精功宏源8001000型双丝
图片尺寸1080x1440
一种涤纶加弹机-爱企查
图片尺寸1633x1913
纺织机械加弹机配件 锁型瓷件 分丝板瓷件
图片尺寸960x960
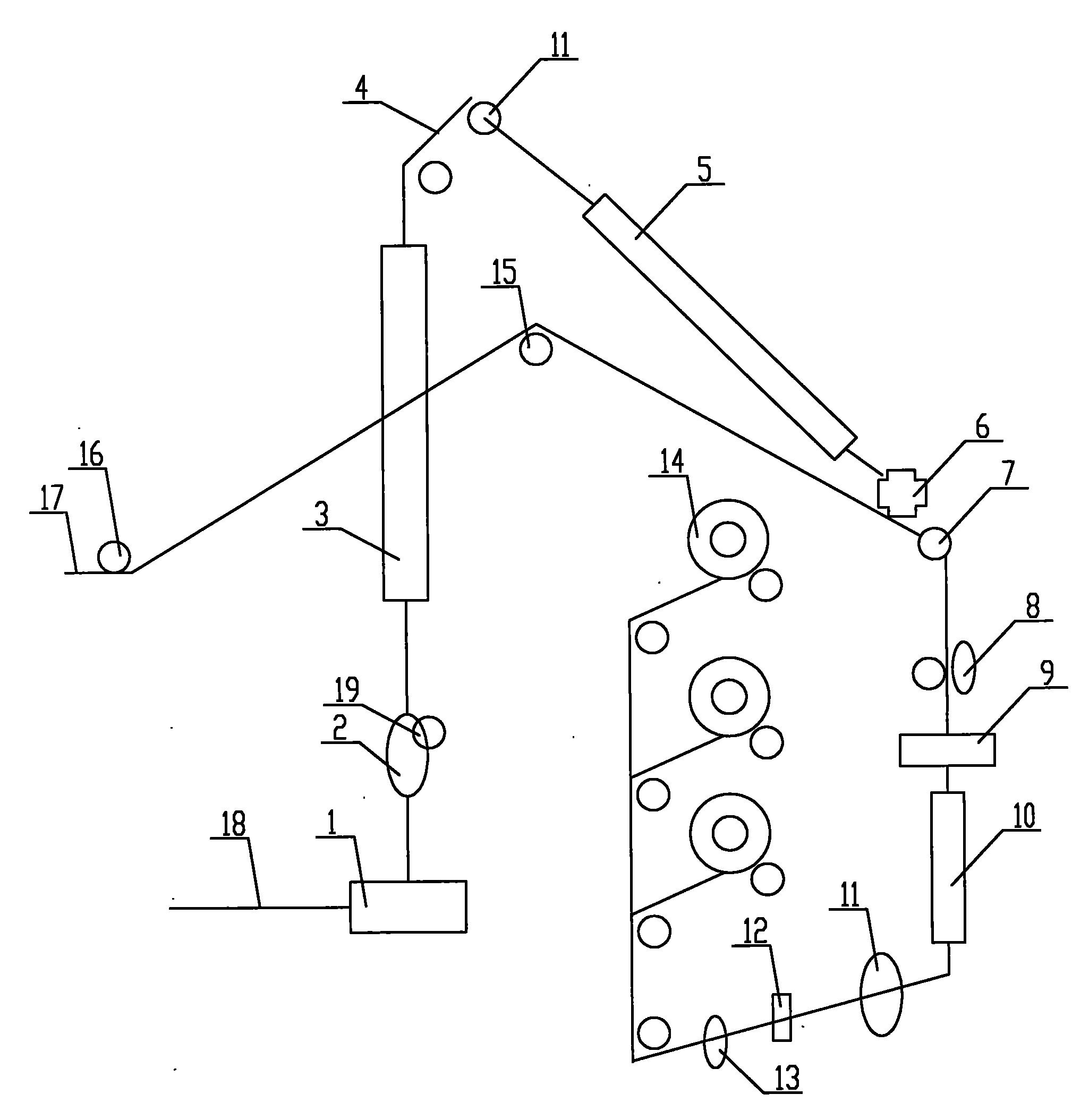
一种新型加弹机-爱企查
图片尺寸2050x2109