动平衡仪原理

动平衡原理及案例ppt
图片尺寸1080x810
动平衡测量原理
图片尺寸920x1302
传张衡和候风地动仪的内容被删除,在历史上真的存在吗?
图片尺寸795x570
本发明涉及电磁自动平衡式电子天平,其中使由流经放在磁场中的驱动
图片尺寸1632x1152
刚性转子动平衡试验机 (b) 刚性转子动平衡试验机的原理
图片尺寸370x184
气动平衡吊工作原理
图片尺寸920x1302
文章通过分析气动自动平衡系统工作原理,气动回路,关键装置等,构建了
图片尺寸993x936
1 feb. 2012 图1 电磁力平衡式电子天平示意图 2 故障现象和维修过程
图片尺寸1034x584
有电子秤原理图么?清晰点的 呵呵 谢谢
图片尺寸997x400
你真的知道气动平衡器的工作原理吗?
图片尺寸554x410
动平衡基本理论
图片尺寸803x486
输送机链轮组件的动平衡技术研究
图片尺寸400x320
车轮动平衡机的原理与应用
图片尺寸1518x2145
yyq传动轴卧式动平衡仪动平衡机电机转子卧式动平衡机
图片尺寸1706x1280
一种自动校准的车轮动平衡机及其运行方法与流程
图片尺寸443x394
一种砂轮动平衡装置
图片尺寸2560x1950
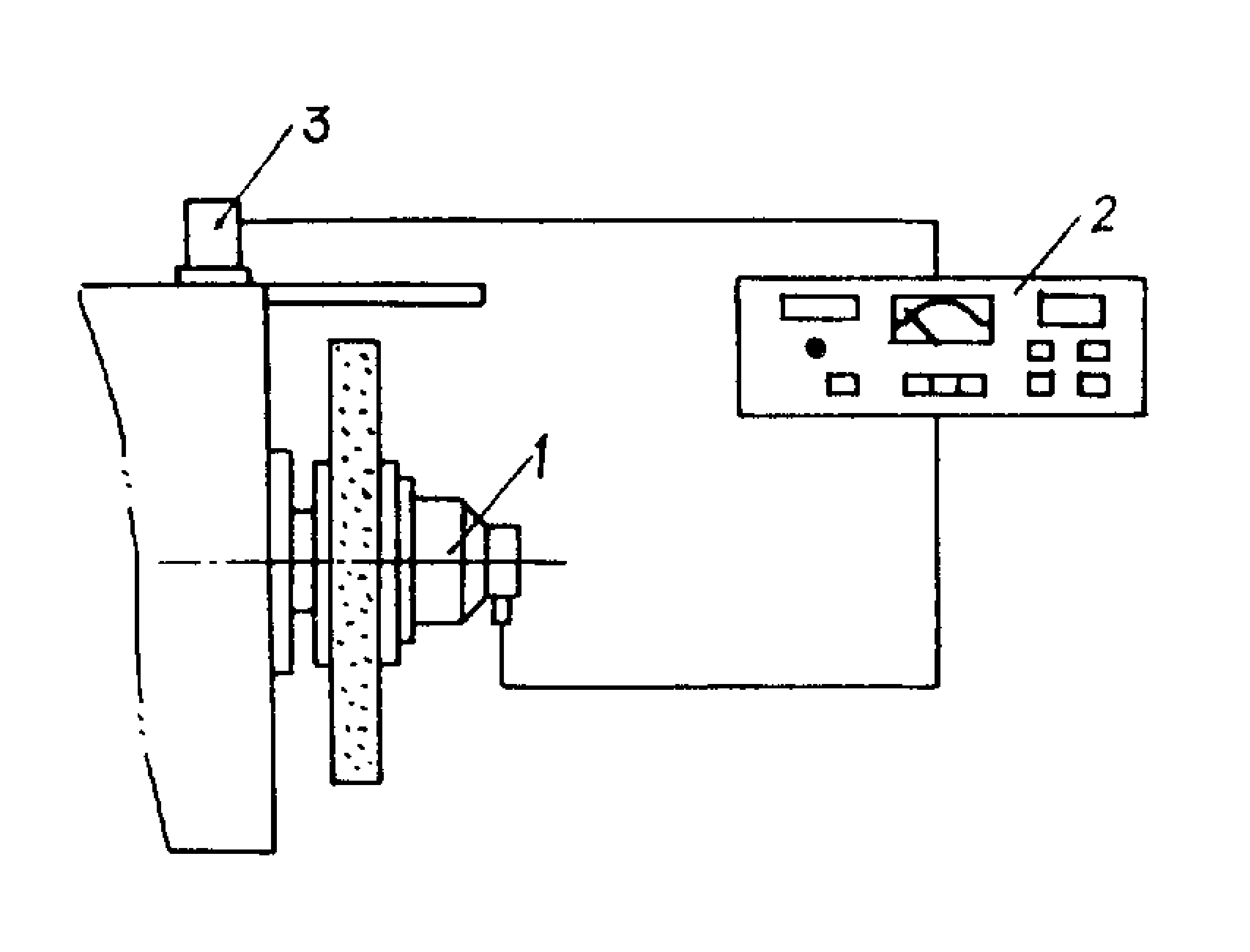
图5-66 就车式车轮动平衡机示意图1—转向节;2—传感磁头;3—可调支杆
图片尺寸811x504
平衡状态的状态分类
图片尺寸480x329
新型风机用硬支承动平衡机的制作方法
图片尺寸1000x881
(议价)经销 现场动平衡测量仪2001 转子便携式动 平衡
图片尺寸800x800