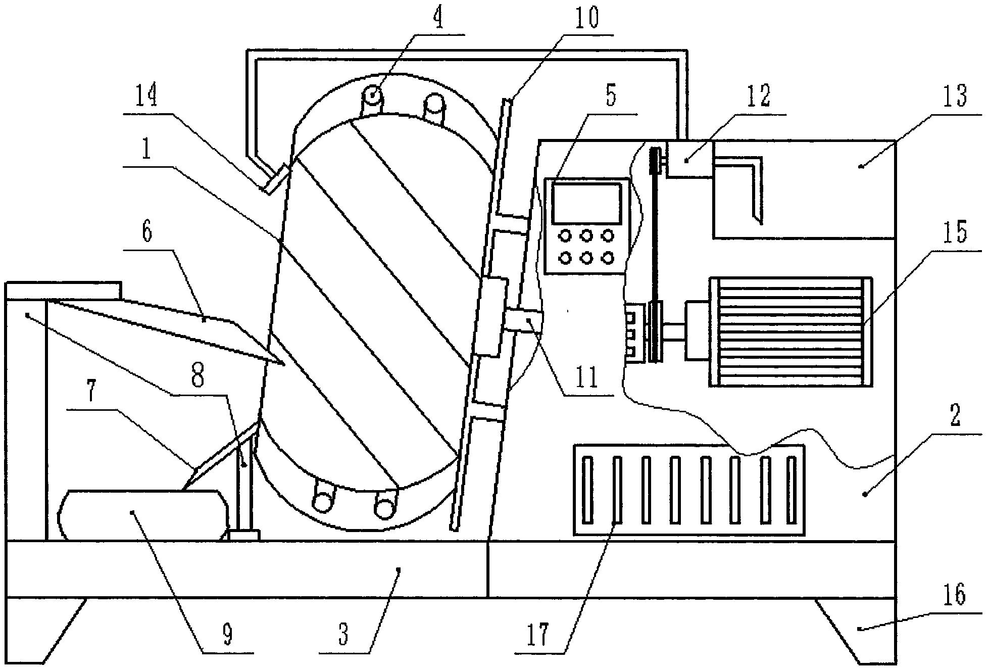
包衣机平面图

包衣机
图片尺寸628x826
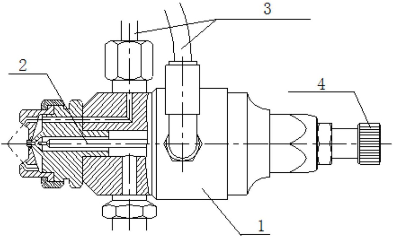
药片生产用包衣机的制作方法
图片尺寸938x1000
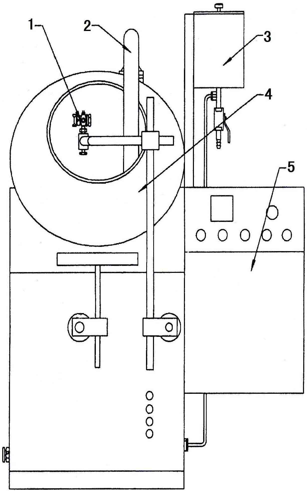
一种密闭式自动喷浆包衣机-爱企查
图片尺寸1367x826
cn201674773u_种子包衣机有效
图片尺寸1869x1785
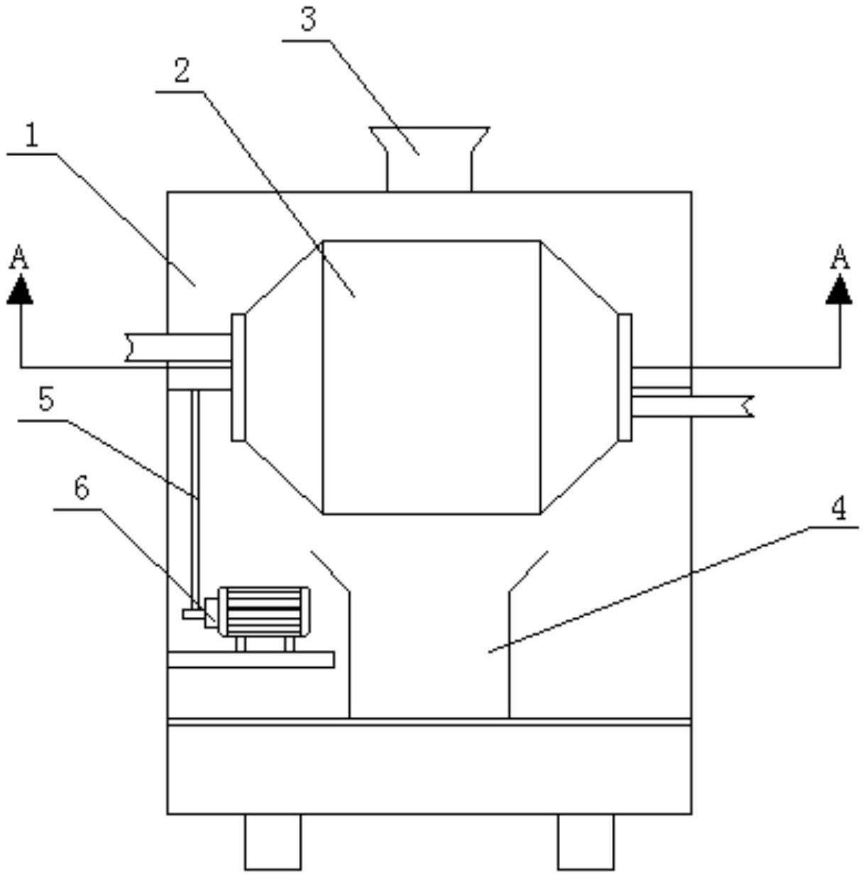
一种连续包衣机-爱企查
图片尺寸800x626
一种多功能制粒包衣机-爱企查
图片尺寸661x709
原创选对包衣设备让包衣质量不打折扣
图片尺寸784x411
一种连续制粒包衣机的制作方法
图片尺寸1000x871
一种流动层包衣机的制作方法
图片尺寸1000x765
cn212040324u_一种滚筒可更换的颗粒包衣机有效
图片尺寸1220x1237
一种多功能包衣机-爱企查
图片尺寸1956x1328
一种多功能薄膜包衣机装置-爱企查
图片尺寸1454x1796
cn2334147y_一种种子包衣机失效
图片尺寸908x652
一种可换滚筒式包衣机的制作方法
图片尺寸727x1000
x蜂胶片生产用包衣机-爱企查
图片尺寸1230x1965
一种种子包衣机-爱企查
图片尺寸918x658
高效包衣机的设计
图片尺寸841x594
一种新型中药片剂快速包衣机-爱企查
图片尺寸672x800
一种多功能高效包衣机-爱企查
图片尺寸663x800
一种新型包衣机
图片尺寸262x377