十字头结构图

一种立式压缩机用十字头结构的制作方法
图片尺寸732x1000
cn205101195u_一种新型十字头装置有效
图片尺寸871x1000
所述本体表面为粗糙表面,该十字头结构合理,喷涂摩擦层结合紧密,可
图片尺寸1658x1804
活塞空压机十字头解析
图片尺寸403x423
十字头
图片尺寸841x594
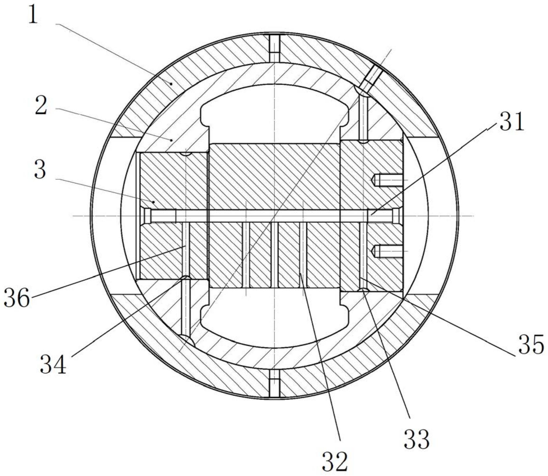
一种隔膜泵用十字头组件的润滑结构
图片尺寸1881x1634
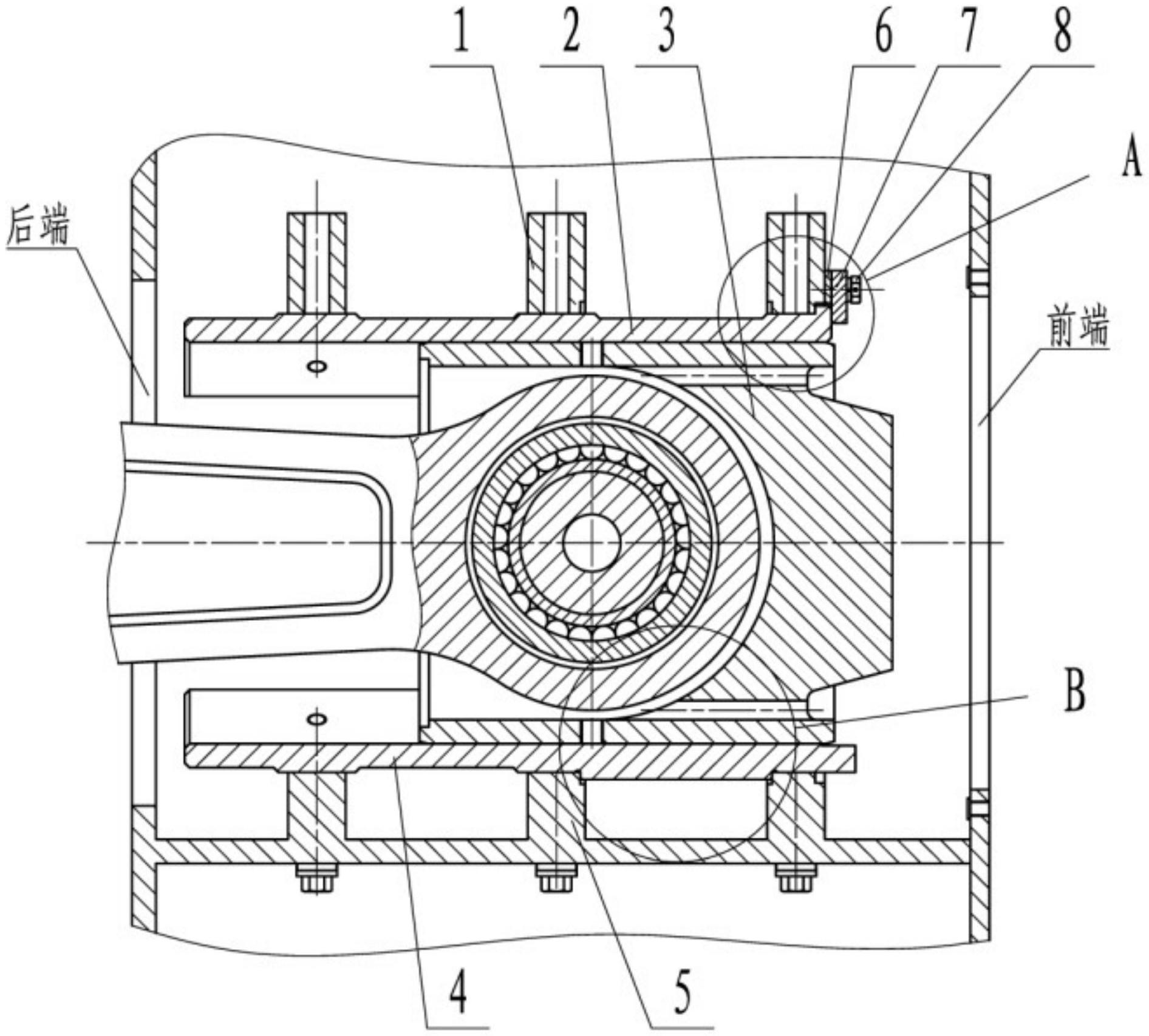
一种钻井泵十字头导板结构
图片尺寸1892x1707
考虑到十字头工作时的作用,要求材料要有很高的强度,并且该零件结构较
图片尺寸629x375
一种阀门十字头连接结构制造技术
图片尺寸717x647
十字头本体异面相交处过渡结构
图片尺寸2555x1782
一种采用滑履卡槽结构的十字头的制作方法
图片尺寸655x1000
(15) 五揭李连生和束鹏程的徒有虚名
图片尺寸530x806
十字头零件的加工工艺规程及镗孔夹具设计(全套含cad图纸)_人人文库网
图片尺寸841x594
柴油机十字头轴承拆检修理工艺
图片尺寸653x427
一种活塞杆与十字头连接结构的改进
图片尺寸527x414
十字头a1.dwg缩略图
图片尺寸707x594
活塞式压缩机十字头结构-爱企查
图片尺寸260x215
一种往复泵连杆十字头结构及往复泵的制作方法
图片尺寸444x278
气门传动装置和十字头式内燃机的制作方法
图片尺寸524x1000
常见大型往复式压缩机活塞杆与十字头的连接方式不外乎这几种方式:液
图片尺寸1024x768