十字轴原理

十字轴的拆卸与安装
图片尺寸497x327
传动轴十字接头
图片尺寸1650x614
一种差速器十字轴结构的制作方法
图片尺寸1000x941
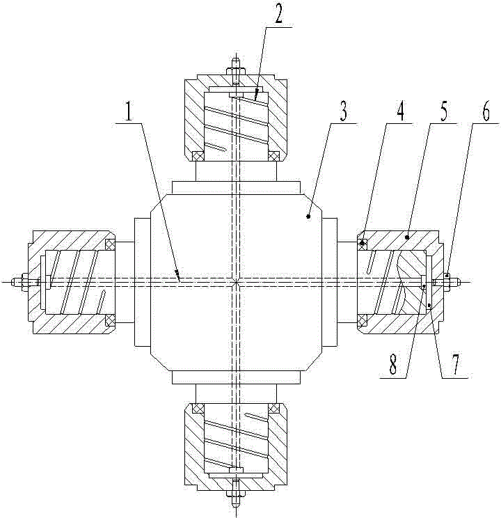
十字轴夹具设计
图片尺寸2304x1739
小型万向联轴器万向节十字万向总成wsd8ws联轴器
图片尺寸750x644
十字轴式刚性万向节
图片尺寸1080x810
cn201016367y_十字轴式万向联轴器失效
图片尺寸2638x1096
万向节十字轴滚针轴承的正确维护
图片尺寸482x402
有哪些原理简单但是设计精妙让人感到惊艳的设计或机械结构
图片尺寸720x509
swc-wh型无伸缩十字轴万向联轴器
图片尺寸500x310
swc-bh型标准伸缩焊接式十字轴万向联轴器图纸
图片尺寸500x310
行星齿轮轴有一字轴(差带器装两个行星齿轮),十字轴(差速器中装四个
图片尺寸726x385
swl-i十字轴式万向联轴器 万向轴 传动轴 万向节 连轴器
图片尺寸1095x1320
十字轴式万向联轴器
图片尺寸640x267
汽车原理与结构-自动档与万向连接ppt
图片尺寸1080x810
万向传动装置由万向节和传动轴所组成
图片尺寸640x286
cn201027828y_整体叉头型贯穿式十字轴万向联轴器失效
图片尺寸1923x1009
万向联轴器无滚针重载十字轴
图片尺寸720x744
十字轴式万向传动轴的原理及其结构
图片尺寸1648x2255
swp十字轴万向联轴器
图片尺寸632x235