升降床原理图

康福浪漫美体美容床高端美容院自动调节床spa床升降乳胶床垫电动床
图片尺寸750x962
索思乐电动床遥控智能床垫升降调节床加厚乳胶床垫s6格调款
图片尺寸790x754
双柱铝合金升降机液压原理图.jpg
图片尺寸750x1061
sjy系列液压升降机电路图.急求电路图.因为现在的线路无法自锁.
图片尺寸720x540
我想用个电动葫芦做升降平台,要求小电压上下限位就上下两层,要求准确
图片尺寸912x522
升降平台液压原理图-升降机|液压升降机|固定式升降
图片尺寸581x568
m栋升降机原理图
图片尺寸1664x2352
一种电动升降床的制作方法
图片尺寸1000x609
一种自由升降双层床的制作方法
图片尺寸1000x916
一种带剪式升降机构的医疗设备的制作方法
图片尺寸1000x686
3t汽车双柱式液压升举机升降台设计
图片尺寸787x557
同步丝杆升降台设计方案具体有哪些?
图片尺寸910x461
一种智能升降床
图片尺寸1884x1243
老年人护理使用的升降式护理床
图片尺寸2250x1256
移动式汽车升降机 图6-22所示为移动式举升机的液压系统原理图 1
图片尺寸450x672
一种电动升降床的制作方法
图片尺寸1000x990
一种电动医疗床的升降机构的制作方法
图片尺寸1000x873
cn2293547y_便携式集装箱液压升降机失效
图片尺寸852x940
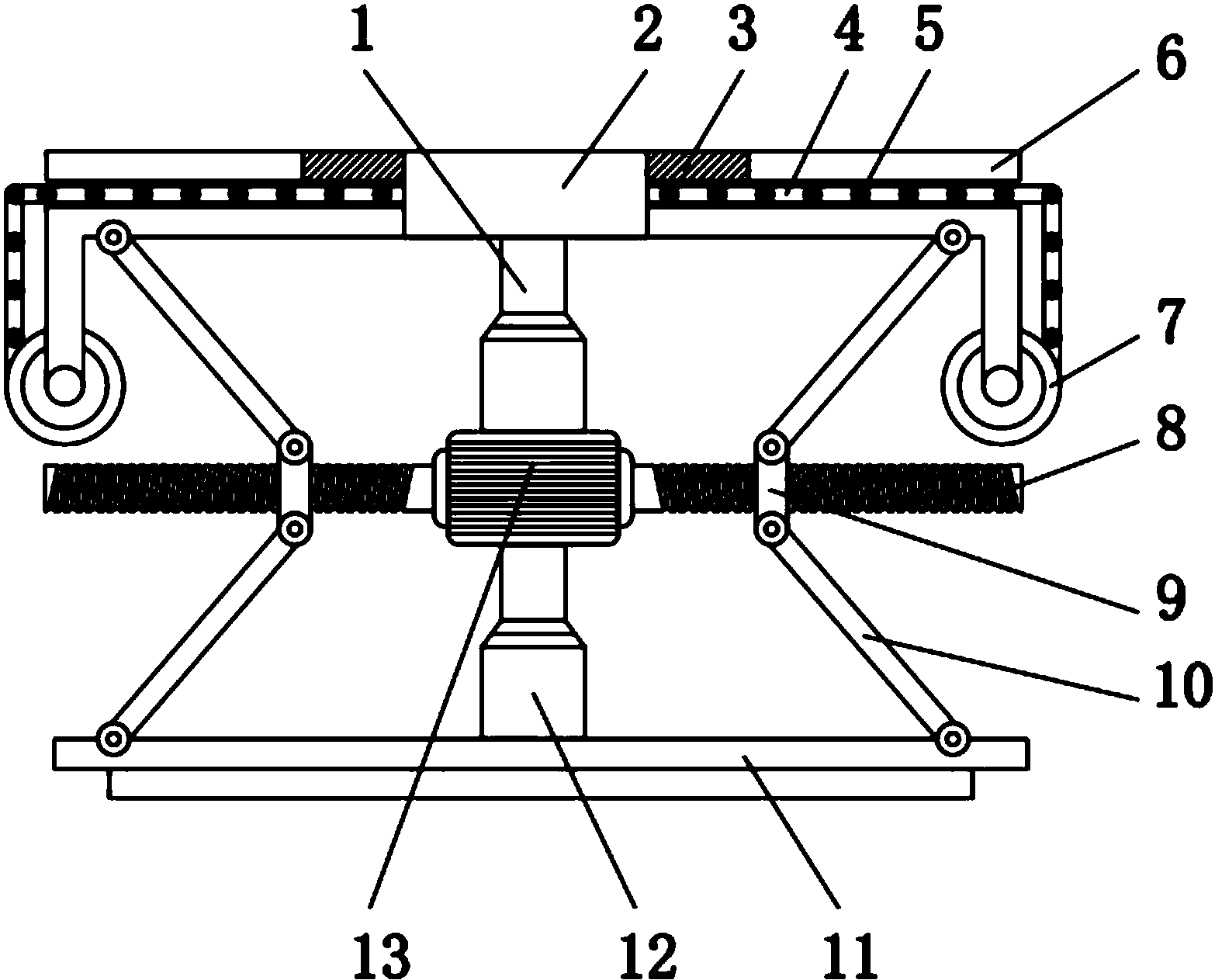
cn108685650a_一种适用于痔疮手术患者的可升降病床在审
图片尺寸1566x1263
一种升降床及家居系统技术方案
图片尺寸1000x916