升降柱施工图

30秒看懂杰田自动升降柱安装图纸以及施工步骤
图片尺寸1163x793
升降柱应用于学校公安军队反恐重点单位等主要技术参数
图片尺寸557x512
五,施工方案汽车撞到升降柱,柱体阻挡汽车前行,地面面板及限位法兰
图片尺寸789x526
升降柱施工图应用范围小区,步行街,公园,风景区,学校,消防通道,广场
图片尺寸1336x561
停车桩防撞柱液压升降柱学校防恐全自动防撞柱小区警示柱单位不锈钢
图片尺寸790x835
液压全自动升降柱和电动气动升降柱的选择
图片尺寸1463x650
全自动升降柱设计图可伸缩路桩设计图
图片尺寸610x446
一种桶装垃圾运输车用多级升降柱
图片尺寸1581x2408
电动升降柱安装需要注意些什么
图片尺寸1200x449
一种稳定型交通用气动型升降柱的制作方法
图片尺寸1000x583
本发明涉及液压升降柱施工技术领域,尤其是涉及一种液压升降柱.
图片尺寸804x1000
cn100417781c_电动升降柱装置有效
图片尺寸1787x2729
一种电动防撞升降柱的制作方法
图片尺寸473x373
液压升降柱安装图纸以及施工细节
图片尺寸850x550
特威建筑施工电梯sc100sc200普通单笼双笼施工升降机标准节
图片尺寸768x1024
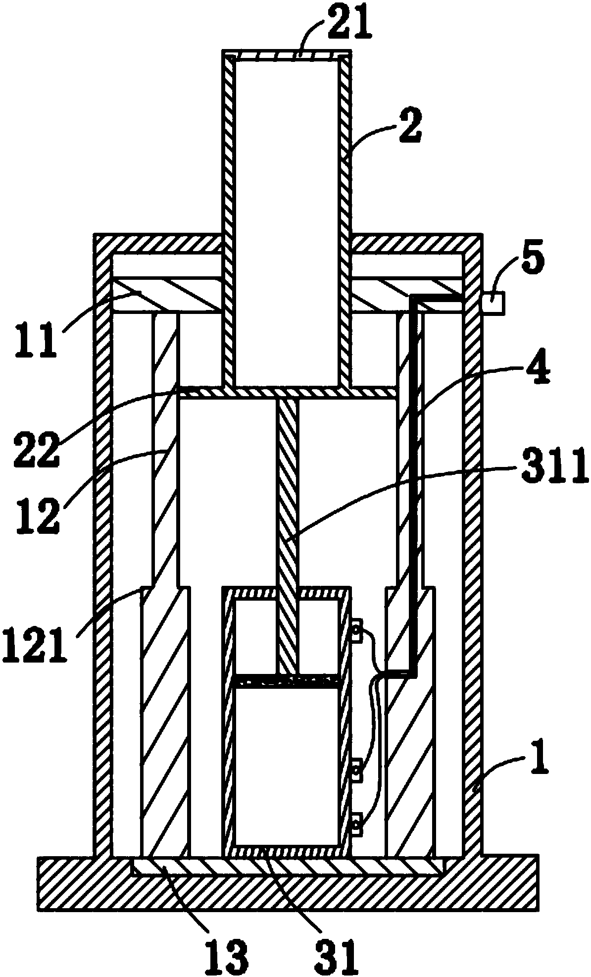
一种一体式液压升降柱
图片尺寸1193x1970
例如,1,安装复杂,施工难度大;2,升降柱内部结构复杂,出现故障维修更换
图片尺寸1000x547
一种新型机电液压升降柱的制作方法
图片尺寸747x1000
广州kll102s液压一体式防撞升降柱全自动升降柱路桩厂家
图片尺寸750x370
一种一体式气压升降柱
图片尺寸1194x1973