升降椅简笔画

网红美发椅子理发店专用剪发椅高档放倒椅时尚旋转升降椅子凳子
图片尺寸1920x1920
机械儿童升降椅-爱企查
图片尺寸1632x1423
办公升降椅简笔画图片
图片尺寸450x551
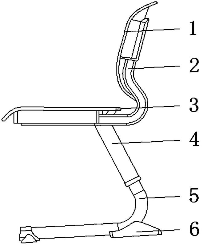
一种升降椅-爱企查
图片尺寸505x800
一种可手摇调节升降的课椅-爱企查
图片尺寸532x800
升降机简笔画
图片尺寸600x1352
一种电动升降的人体工学椅-爱企查
图片尺寸587x800
cn212280586u_一种人体工学后仰平躺升降电竞椅有效
图片尺寸1945x1393
一种脚控升降座椅-爱企查
图片尺寸1623x1668
现代电脑椅办公椅升降椅转椅经理老板人体工学多功能电脑椅-wl0
图片尺寸800x800
一种可在内部升降的课椅机构-爱企查
图片尺寸660x799
cn2376804y_靠背与座位可分别升降的转椅失效
图片尺寸478x600
一种电动升降的人体工学椅-爱企查
图片尺寸642x800
升降椅简笔画
图片尺寸500x500
楼梯升降椅(直线型)
图片尺寸668x892
一种椅背可调的升降椅结构的制作方法
图片尺寸440x444
一种便于调节的椅背升降机构-爱企查
图片尺寸432x800
cn201414595y_可升降的折叠椅失效
图片尺寸2032x2573
头枕组件;安全座椅包括椅座和椅体,头枕组件可升降地设于椅体的椅背上
图片尺寸571x800
按摩椅的小腿升降机构-爱企查
图片尺寸800x564