半导体简笔画

半导体插画
图片尺寸300x300
艺术,式样,半导体,水平画幅,绘画插图
图片尺寸1200x978
hibts500851tmaicsmartsidecurrentpwr芯片
图片尺寸600x600
集成电路8200插画
图片尺寸375x300
集成电路8200插画
图片尺寸375x300
晶体管芯片矢量图标符号电子元件隔离在白色背景上
图片尺寸1100x1100
卡通电脑芯片,卡通电脑芯片
图片尺寸1024x1024
international rectifier irfr9024ntrpbf分离式半导体产品,现货供应
图片尺寸350x350
集成电路矢量图片-集成电路矢量素材-集成电路矢量插画-摄图新视界
图片尺寸285x300
半导体简笔画
图片尺寸859x500
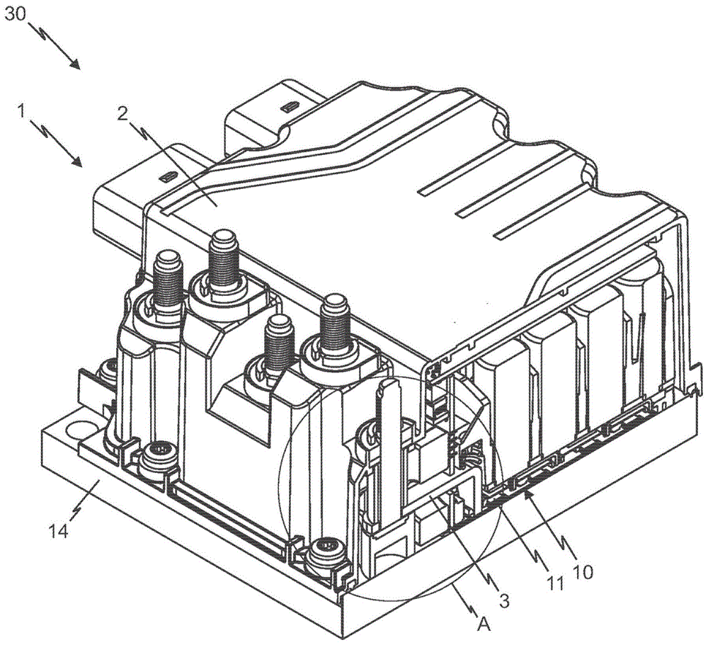
半导体功率模块(002)-爱企查
图片尺寸1654x1403
半导体插画
图片尺寸300x300
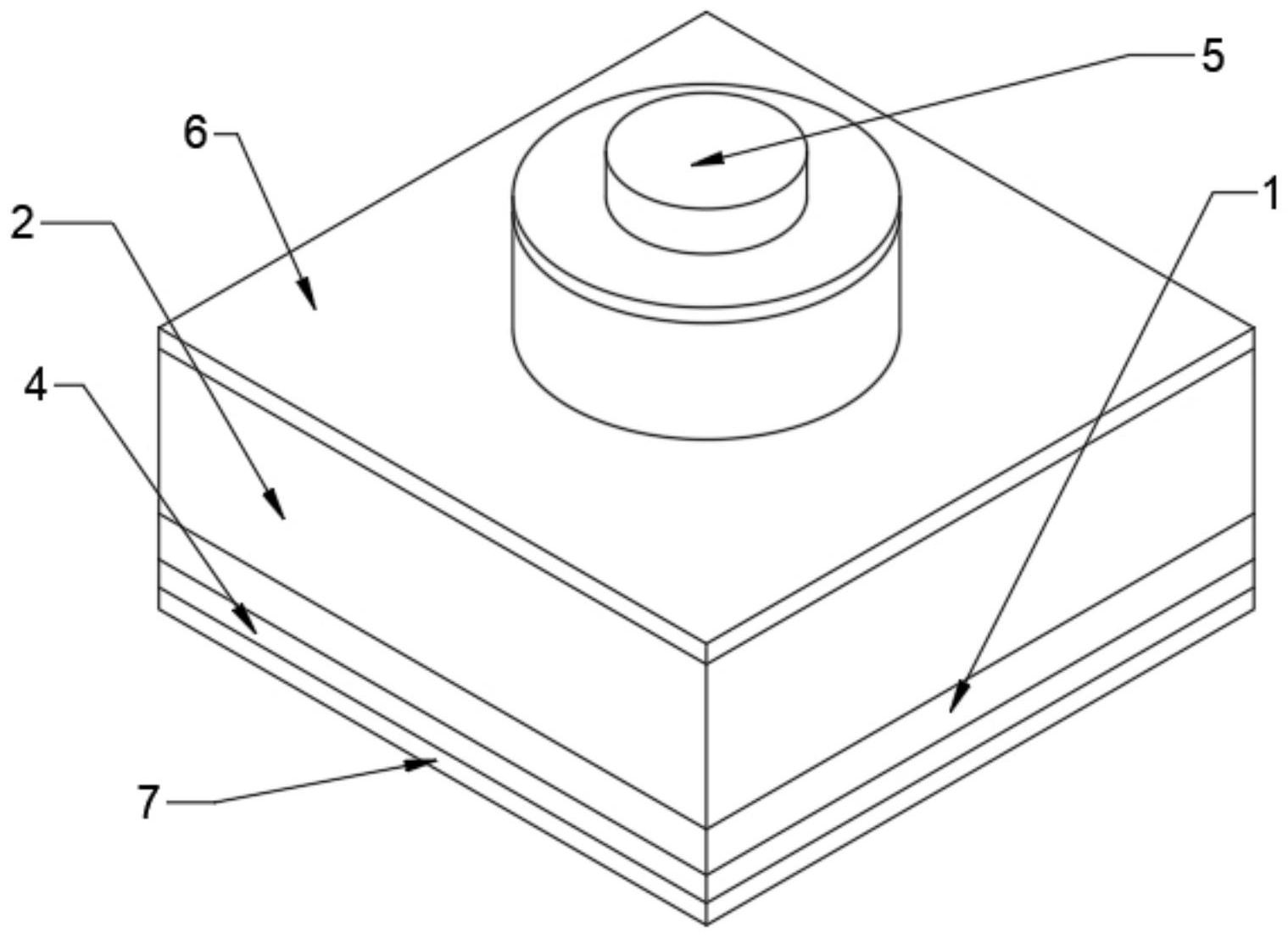
具有至少一个半导体光源的电路板,用于电路板的支承件,由电路板和支承
图片尺寸998x1000
mosfet n-ch 24v 429a d2pak-7标准包装:50类别:分离式半导体产品家庭
图片尺寸350x350
半导体模块
图片尺寸1473x1082
供应dsei12-10a分离式半导体产品,ixys品牌分离式半导体产品dsei12
图片尺寸350x350
半导体装置制造方法及图纸
图片尺寸666x772
cn110620098a_包括壳体的功率半导体器件及生产功率半导体器件的方法
图片尺寸1000x911
一种基于化合物半导体材料紫外vcsel芯片及制作方法
图片尺寸1519x1107
半导体装置的制作方法与流程
图片尺寸449x1000