单向阻尼结构

一种新型单向阻尼器-爱企查
图片尺寸1038x1583
阻尼器结构及尺寸
图片尺寸320x333
一种可更换阀芯的单向阻尼阀
图片尺寸1059x1526
并联式单向单颗粒阻尼器力学模型及优化分析
图片尺寸1575x565
一种单向空气阻尼器的制作方法
图片尺寸1000x371
家具中的阻尼器有用吗
图片尺寸413x220
摩擦阻尼器在主要结构构件屈服前的预定荷载下产生滑移或变形,依靠
图片尺寸448x296
单向旋转缓冲阻尼器的制作方法
图片尺寸1000x854
一种弹片式单向阻尼器的制作方法
图片尺寸1000x762
台北101大厦阻尼器工作原理
图片尺寸447x352
本发明提供一种液体单向止逆运动的粘滞阻尼器,属于土木工程结构振动
图片尺寸1880x636
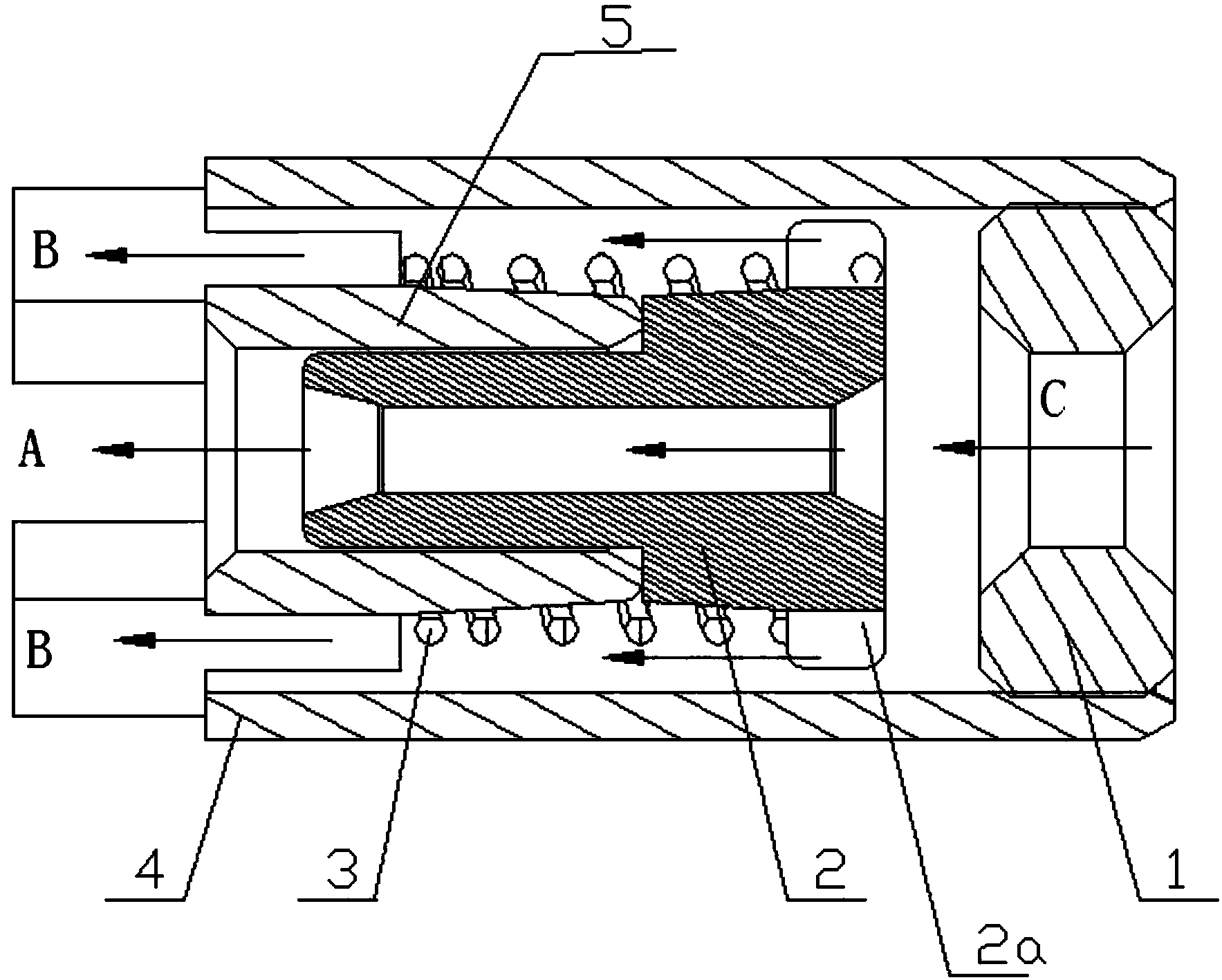
cn106969173a_一种直通式阻尼单向阀组件在审
图片尺寸1767x1417
阻尼器相关介绍_wei_jiebin
图片尺寸520x205
油缸用单向阻尼结构的制作方法
图片尺寸1000x744
详细介绍球磨机运转中轴承处的阻尼体结构
图片尺寸467x280
一种通过设置单向阻尼块实现异向转速不同的液压阻尼器
图片尺寸1692x1395
一种直通式阻尼单向阀组件制造技术
图片尺寸1000x801
刚性阻尼器
图片尺寸1098x2552
2,汽车悬架系统的组成(续) 汽车悬架系统的组成( 阻尼元件
图片尺寸1080x810
一种单向旋转阻尼器的制作方法
图片尺寸1000x409