单轨吊示意图

dc12080y防爆柴油机单轨吊机车
图片尺寸1344x508
墙壁吊发动机吊机05吨1吨固定式起重机小型吊机单臂吊
图片尺寸750x501
气动单轨吊cad图纸
图片尺寸1756x1293
单轨吊方案
图片尺寸623x320
供应ddd8j型隔爆型电动单轨吊车
图片尺寸430x329
lx电动单梁悬挂起重机
图片尺寸700x487
5吨气动单轨吊设计
图片尺寸841x594
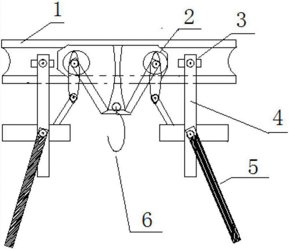
电动液压单轨吊的制作方法
图片尺寸1000x452
老窑沟煤矿单轨吊辅助运输系统
图片尺寸356x304
单轨吊轨道的吊挂形式及安装标准
图片尺寸920x1302
单轨吊支护_solidworks
图片尺寸1080x720
老窑沟煤矿单轨吊辅助运输系统
图片尺寸514x271
i140v,i140e单轨吊轨道的吊挂形式及安装标准
图片尺寸1434x583
单轨吊全套cad图纸
图片尺寸841x594
cn2107413u_防爆特殊型蓄电池单轨吊失效
图片尺寸2464x839
cn206581976u_单轨吊机车运输轨道辅助运输装置有效
图片尺寸1000x862
矿用单轨吊机车(i)-爱企查
图片尺寸1654x936
操作方法为单轨吊用5点式(上下,横向)按钮,起重机用7点式(上下,横
图片尺寸538x469
一种单轨吊设备及其驱动装置的制作方法
图片尺寸894x1000
33单轨吊架体示意图
图片尺寸760x859