卡箍安装图解

悬挑式脚手架施工标准
图片尺寸496x447
沟槽式卡箍连接管道
图片尺寸642x717
钢丝绳绳卡正确安装
图片尺寸920x1303
批发钢丝绳卡头 u型夹油丝绳卡头国标夹头钢丝绳卡扣
图片尺寸792x1161
重型304不锈钢真空kf卡箍加厚快装铝卡扣管卡kf16nw254050铝卡箍kf40
图片尺寸750x536
304不锈钢管卡吊卡管道固定支架自攻螺丝膨胀6分ppr水管夹pvc卡扣
图片尺寸750x1050
起重机钢丝绳端部绳夹固定连接时,绳夹间距不应小于钢丝绳直径8倍
图片尺寸918x635
304活扣不锈钢扎带卡箍喉箍抱箍快装管卡扣水管管夹管卡固定卡子
图片尺寸800x800
如ptfe,pfa,pe等材质软管; 2,耐压:220psi 3,快速的安装方式
图片尺寸670x521
304不锈钢卡箍不锈钢强力喉箍电线卡抱箍管卡管箍管夹抱箍
图片尺寸792x1020
钢丝绳卡的安装标准(2017-04期).pdf 3页
图片尺寸792x1120
frkang/不锈钢冲压卡箍 轻型卡箍 304冲压卡箍 快装卡箍 喉箍
图片尺寸750x755
消防管道沟槽连接系统ppt
图片尺寸1080x810
钢丝绳卡的安装标准.doc 2页
图片尺寸792x1120
一种多功能快速安装卡箍及其使用方法
图片尺寸1000x382
内衬不锈钢复合管沟槽连接方法
图片尺寸1055x746
低价处理kf真空铝卡箍快装卡箍管夹紧型快卸法兰管道连接标准元件
图片尺寸790x1121
304不锈钢高压卡箍 重型快装管夹加厚油管 管箍抱箍管卡子
图片尺寸750x857
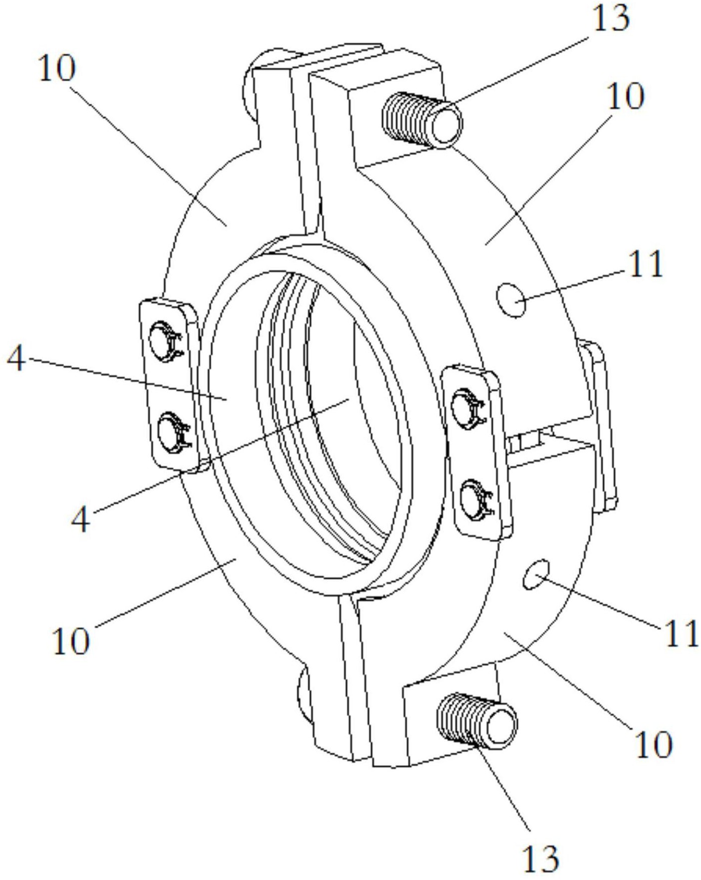
用于真空法兰对接的链式卡箍安装工具及其安装方法
图片尺寸1399x1755
304不锈钢弹簧管夹手捏钢丝卡簧水管23mm卡箍抱箍卡子1寸管道喉箍
图片尺寸750x454