印花机简笔画

一种便于移动的印刷机-爱企查
图片尺寸1728x1290
热敏打印机简笔画
图片尺寸585x500
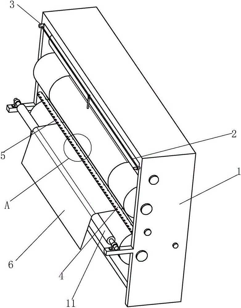
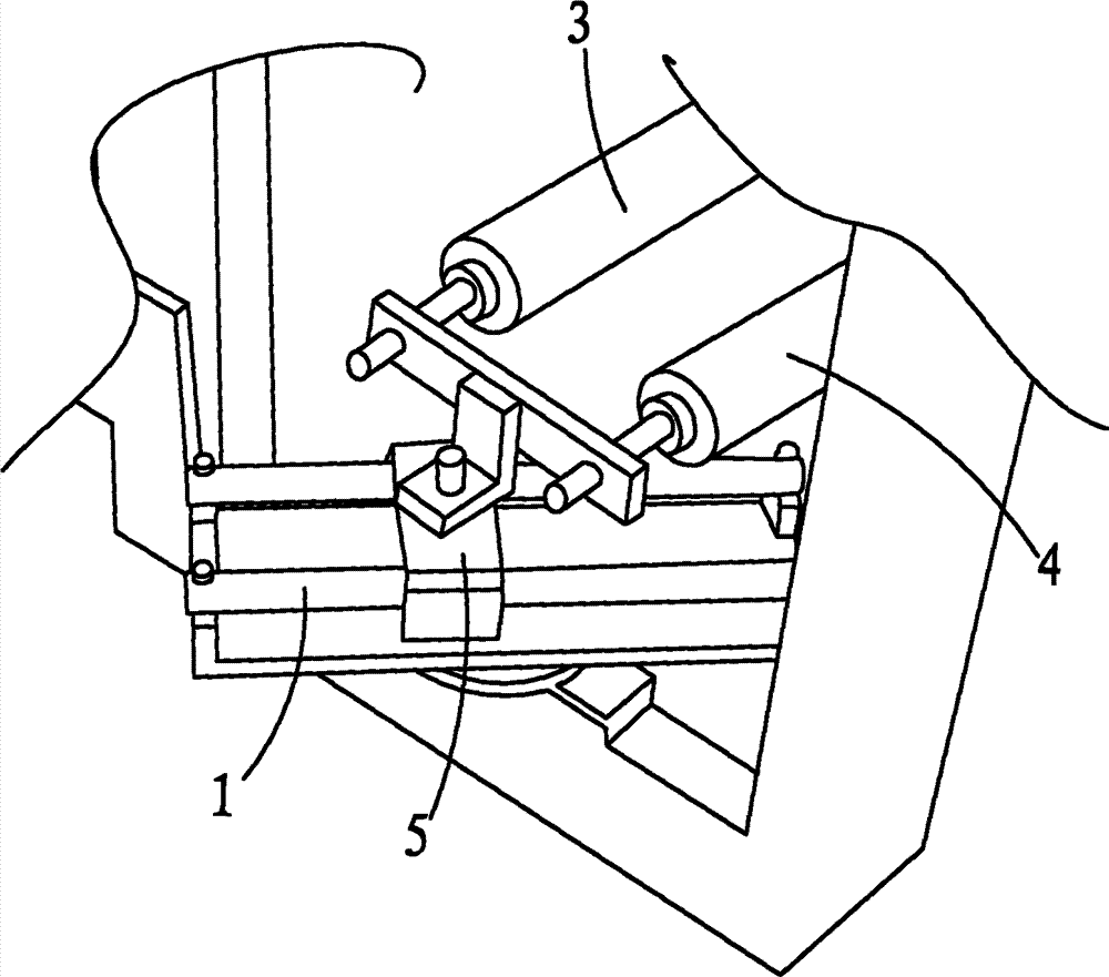
一种便于上料的印花机的制作方法
图片尺寸1000x687
目前单色印刷机是一种性能优良,操作简单,工作稳定可靠的自动化印刷
图片尺寸360x443
cn213056433u_一种数码直喷织物印花机
图片尺寸1693x1159
多功能打印机在白色背景上孤立的轮廓样式.排版符号股票矢量图照片
图片尺寸300x300
cn101786371a_全自动印花机失效
图片尺寸2912x1768
印花机
图片尺寸782x1000
打印机独立线条样式图标
图片尺寸1100x1100
一种后处理式三色印花机制造技术
图片尺寸1000x732
cn213704875u_一种平网印花机有效
图片尺寸1605x1360
纺织品印花机的制作方法与工艺
图片尺寸1000x850
纸打印机图标,轮廓样式
图片尺寸1100x1100
cn2167835y_热转移印花机失效
图片尺寸1120x1696
印花机
图片尺寸1000x881
一种新型印花机的制作方法
图片尺寸1000x723![关键词 : 技术,打印机,纸张,印刷,办公耗材,打印[声明] 觅元素所有](https://i.ecywang.com/upload/1/img1.baidu.com/it/u=3217725219,1218128137&fm=253&fmt=auto&app=138&f=JPEG?w=500&h=500)
关键词 : 技术,打印机,纸张,印刷,办公耗材,打印[声明] 觅元素所有
图片尺寸512x512
一种服装印花机及使用方法
图片尺寸1304x739
印刷机
图片尺寸752x827
一种塑料产品商标用彩色印花机的制作方法
图片尺寸443x295