压力容器结构图

压力容器的基本结构
图片尺寸640x505
压力桶结构简图
图片尺寸466x515
图1-1-2 压力容器的结构
图片尺寸1554x1876
压力容器主要结构包括
图片尺寸769x542
压力容器的结构
图片尺寸365x286
压水堆压力容器
图片尺寸1441x1465
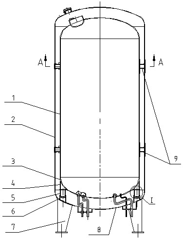
一种立式储气罐
图片尺寸1357x1678
容器的结构二,压力容器的标准,标准设计小结 - 聚焦化工网
图片尺寸993x1404
一种立式真空绝热深冷压力容器的内容器支撑
图片尺寸376x488
304不锈钢膨胀罐压力罐耐压610公斤304不锈钢膨胀罐压力罐定制定制
图片尺寸750x1458
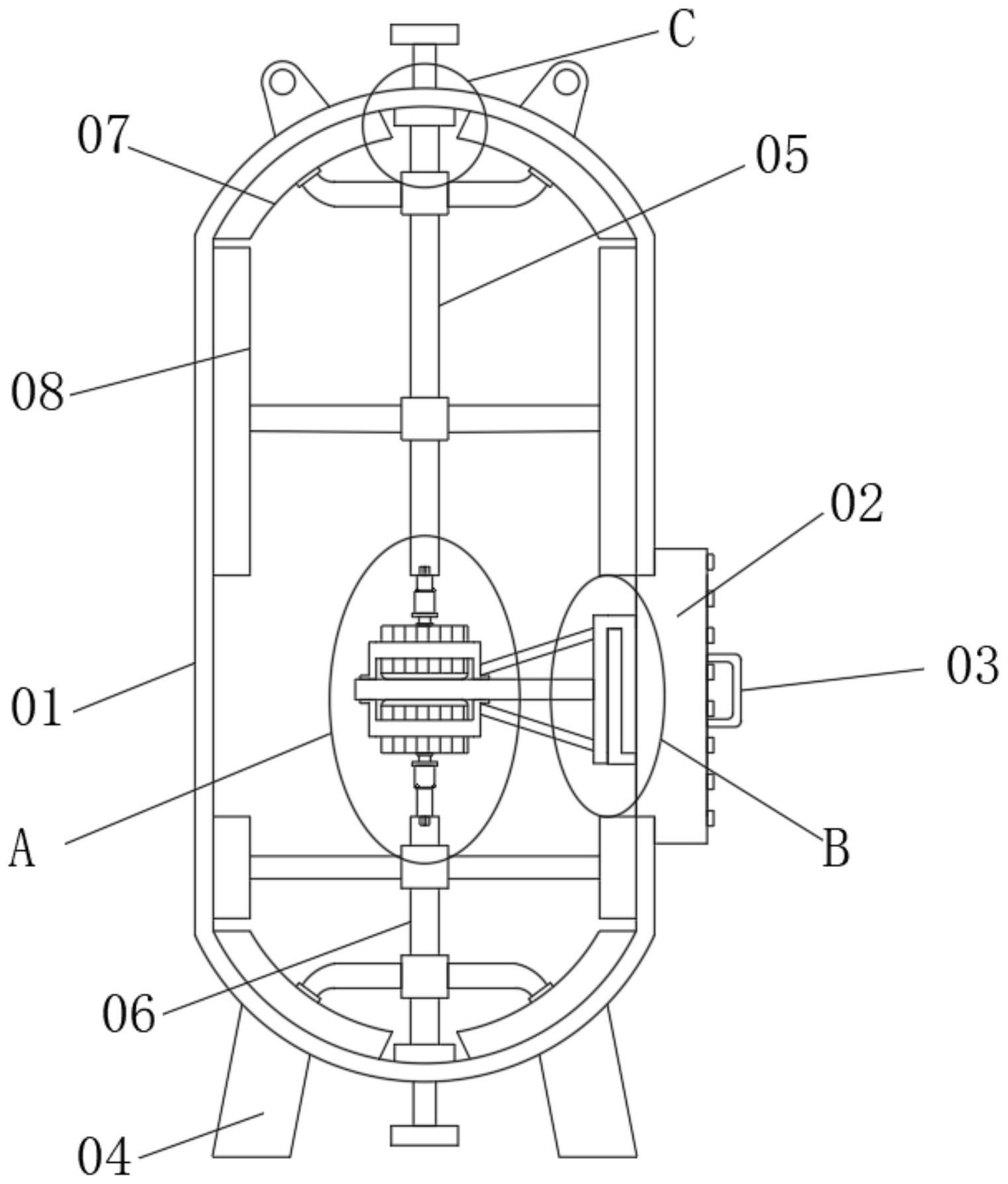
cn112728079a_一种带有清洗内壁结构的压力容器
图片尺寸1520x1785
压力容器的典型结构 中压压力容器 — 立式压力 容器
图片尺寸1080x810
反应堆压力容器
图片尺寸475x436
压力容器结构图.png
图片尺寸382x396
图3 双层结构中低压压力容器设备结构原理
图片尺寸1583x2079
1压力容器的结构及其分类20ppt
图片尺寸1080x810
机械制造基础 焊接 焊接结构现场课 -压力容器生产工艺过程ppt
图片尺寸1080x810
压力容器--设计基础(一)
图片尺寸857x437
压力容器的结构_第3页
图片尺寸2195x1235
cn105972204a_一种压力容器失效
图片尺寸1000x820