压力表防冻装置

室内压力表/消火栓/管道等
图片尺寸2000x2667
柔性可拆卸压力表保温套
图片尺寸640x640
空调冷冻水系统压力表缓冲管需要保温吗?有相关规范依据解释吗?
图片尺寸600x800
防冻耐震耐温型压力表 - 压力仪表系列 - 克拉玛依五联仪器仪表制造
图片尺寸516x516
空调加氟表r22r410r404a制冷剂雪种表变频空调冷媒压力表
图片尺寸800x533
包含限压装置和压力等值膜 压力表缓冲阀和针阀推荐用于重载应用中
图片尺寸790x331
一种防冻压力表的制作方法
图片尺寸929x1000
膜盒压力表天然气液化气工业压力表
图片尺寸771x900
压力表怎么安装在管道上
图片尺寸640x256
空调器冷媒表歧管数字压力表 410 * r22 * r12 * r134 制冷剂灌装装置
图片尺寸1000x1000
站场的压力表,泄压阀,在线密度计等设备的防冻保护.
图片尺寸1598x1198
隔膜压力表结构原理及用途一,原理隔膜压力表是指用隔离装置(内部灌充
图片尺寸500x750
ye-100膜盒压力表
图片尺寸1020x680
空调加氟表r22r410r404a制冷剂雪种表变频空调冷媒压力表
图片尺寸800x533
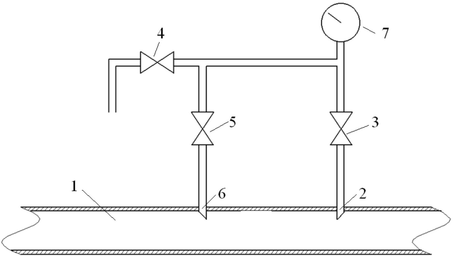
一种自循环压力表防冻装置-爱企查
图片尺寸1770x1000
哪里有sf6报警闭锁压力表深圳市北开科技出口
图片尺寸396x500
2,消防泵出口管路应安装消声止回阀,调节阀和压力表; 系统总出口管路
图片尺寸1920x1920
耐腐耐高温压力表使用与维护
图片尺寸461x459
y—ml,mf隔膜式压力表隔膜式压力表是由膜片隔离装置和配用压力表两大
图片尺寸350x350
y-bf不锈钢压力表
图片尺寸500x685