压榨机结构图

压榨机结构图
图片尺寸538x416
制造销售303000吨天甘蔗压榨机
图片尺寸1200x625
石榴出汁机 麦芽榨汁机 榨苹果机 大型螺旋压榨机 高产量商业用
图片尺寸747x547
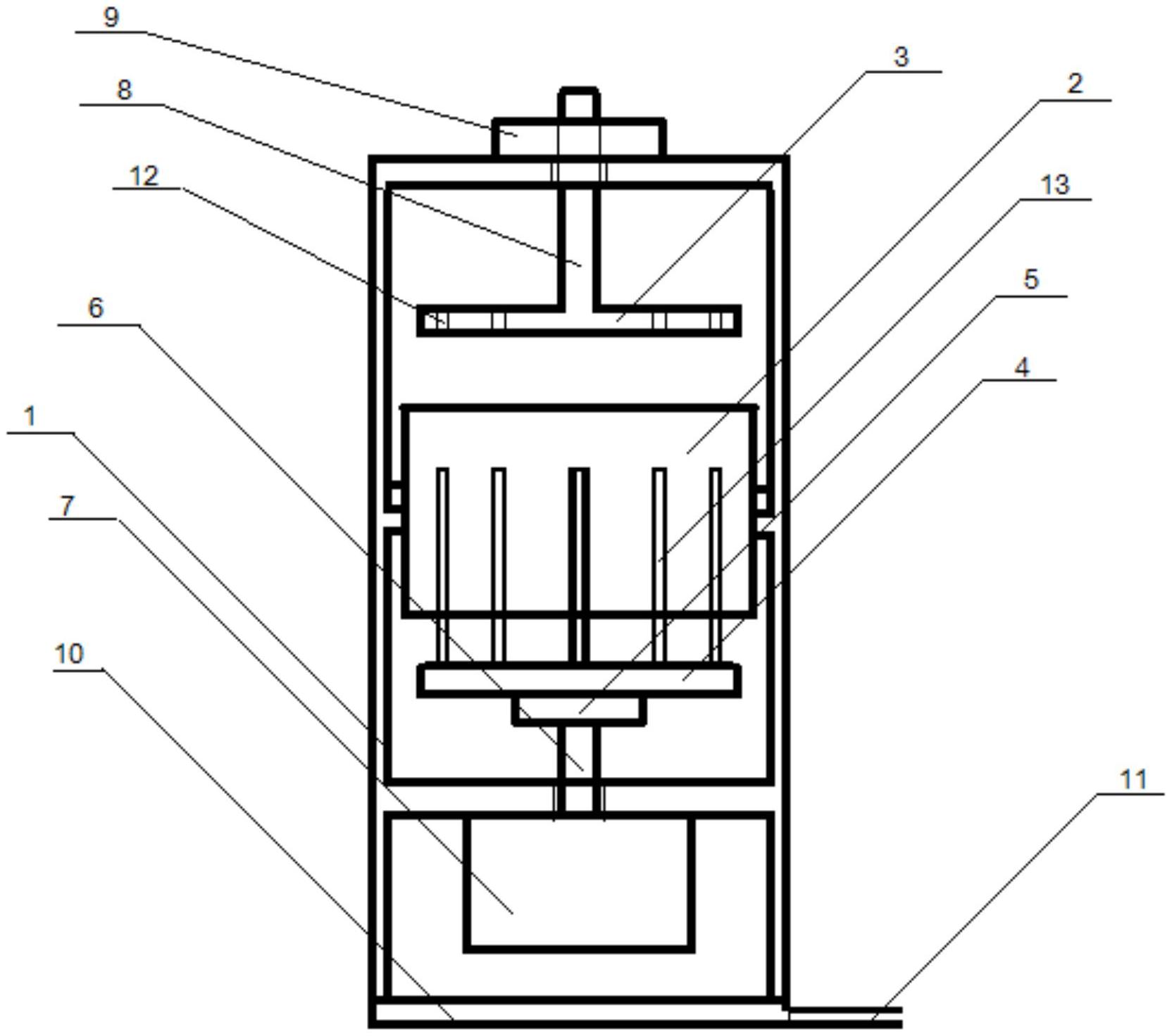
螺旋榨油机的典型结构(图)包括:进料装置,榨膛(榨笼与榨螺轴),调饼
图片尺寸896x778
现货供应液压芝麻香油机立式液压香油机大型芝麻榨油机设备
图片尺寸375x435
原汁机榨汁机家用全自动汁渣分离大口径水果蔬小型原汁机炸果汁机豆浆
图片尺寸750x1134
philips/飞利浦 hr1858/50 榨汁机 650w 超大容量多档速
图片尺寸700x674
榨汁机结构图
图片尺寸566x359
一种新型的螺旋压榨机
图片尺寸1000x526
芝麻榨油机 茶子榨油机 花生榨油机 芝麻榨油机 螺旋榨油机
图片尺寸838x612
易清洗挤压式榨汁机
图片尺寸1756x1340
设计结构产品详情厂家销多功能售小型流动螺旋榨油机 质优价廉正品
图片尺寸714x543
一种连续自动带式液压压榨机
图片尺寸2979x1841
榨汁机典型结构分析
图片尺寸1440x810
一种带过滤内孔的山茶油压榨机
图片尺寸1664x1472
该系列机组主要由自动控制部分,加热压榨部份,调整部份,传动
图片尺寸1920x1170
一种新型的螺旋压榨机的制作方法
图片尺寸1000x526
一种水果榨汁机的制作方法
图片尺寸994x1000
一种新型葡萄酒气囊压榨机,其包括设置为中空结构的圆柱形气囊罐体,所
图片尺寸1800x1415
一种立式液压压榨机的制作方法
图片尺寸782x1000