压滤罐结构

重型分体式浓缩带式压滤机
图片尺寸534x709
一种压滤机专用压滤罐的制作方法
图片尺寸336x553
上图是板框式压滤机结构图,如图我们所示,料液从上方进入,流入滤框,一
图片尺寸580x354
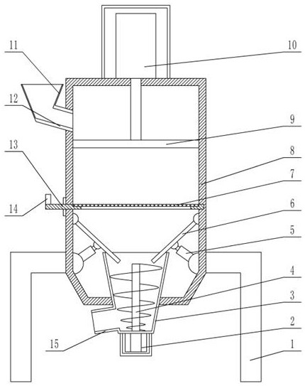
cn211462271u_一种便于滤后取料的医药中间体生产用压滤罐有效
图片尺寸430x543
一种α62亚麻酸纯化压滤罐的制作方法与工艺
图片尺寸1000x859
一种压力容器式纤维素压滤罐的制作方法
图片尺寸443x389
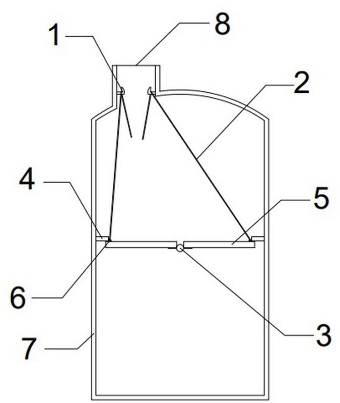
通过在罐形压滤器本体的外壁外围焊接一圈槽体结构,槽体结构的一处
图片尺寸1533x1670
一种维生素c中转压滤罐的制作方法
图片尺寸696x1000
cn203710765u_一种纤维素压滤罐失效
图片尺寸832x1000
一种医药中间体制备用节能型压滤罐的制作方法
图片尺寸443x400
板框压滤机结构
图片尺寸690x468
全自动立式压滤机的基本结构及其特点
图片尺寸813x365
压滤机结构组成
图片尺寸690x517
污水罐结构示意图
图片尺寸407x577
一种多功能提取罐压滤装置-爱企查
图片尺寸675x799
板框式压滤机.jpg
图片尺寸2883x2647
一种泥浆高效浓缩隔膜压滤机脱水系统
图片尺寸443x303
依斯倍教您在污水处理工程如何选择板框压滤机?
图片尺寸372x229
cn203724659u_一种防护磷化氢气体的呼吸过滤式滤毒罐有效
图片尺寸1000x779
过滤罐结构图纸,本工程资料为dwg格式,图纸包括:各版块详细示意图 ,内
图片尺寸610x432