压片机 平面图

一种旋转式压片机
图片尺寸1485x1673
一种药物压片机的制作方法
图片尺寸778x1000
一种新型的压片机-爱企查
图片尺寸1312x1645
一种用于制药的高速压片机的制作方法
图片尺寸403x444
一种高效旋转式压片机
图片尺寸777x1000
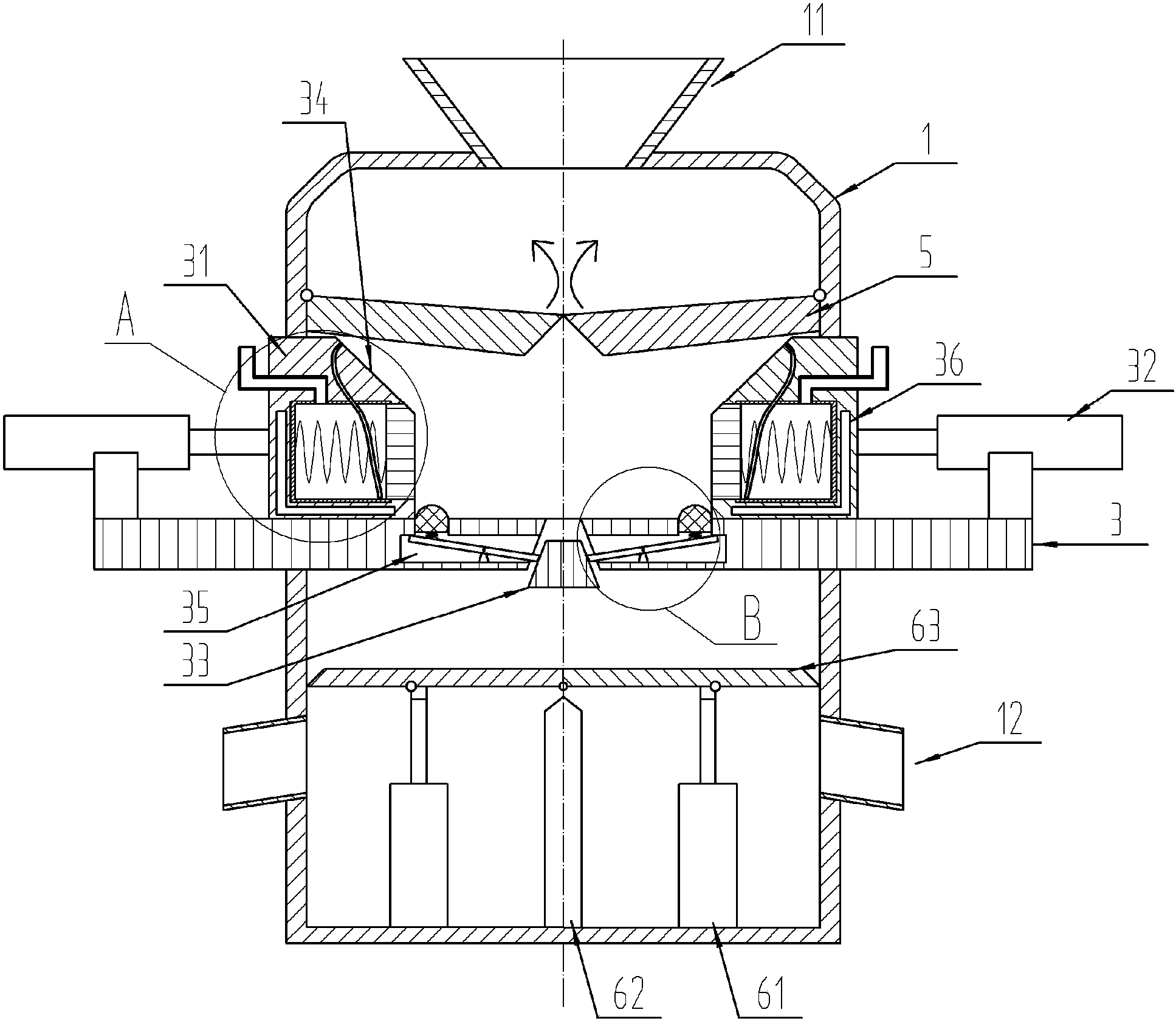
一种压片机
图片尺寸1935x1680
一种一体式粉末压片机
图片尺寸1546x2248
一种制药用的压片机的制作方法
图片尺寸1000x792
一种炭粉压片机的制作方法
图片尺寸797x1000
zp-5/7/9-工厂直销】中药片压片机
图片尺寸510x393
一种旋转式压片机
图片尺寸882x1000
一种tcca水处理双层片生产用压片机 - cn201720047228.
图片尺寸419x337
一种药物压片机
图片尺寸773x1000
一种便于药片出料的中药材压片机-爱企查
图片尺寸1300x1481
一种自动压片机的制作方法
图片尺寸865x1000
干粉压片机设计说明书毕业设计全套
图片尺寸1200x800
一种旋转式压片机制造技术
图片尺寸996x1000
一种压片机的制作方法
图片尺寸673x442
一种压片机
图片尺寸1252x1263
片剂药品生产用压片机,涉及药品生产设备技术领域;机台上具有工作平面
图片尺寸2000x1878